EasyManua.ls Logo

Weber One-Touch Platinum - Grill Operation and Safety Warnings; Ventilation Control Explanation; Charcoal Fluid Fire Hazard Warning

Weber One-Touch Platinum
23 pages
Print Icon
To Previous Page IconTo Previous Page
To Previous Page IconTo Previous Page
Loading...
www.wEbER.COm
®
23
N
år tændvæske bruges, må askebakken altid efterses før tænding. Væske kan
samle sig i askebakken og antænde, så brand kan opstå nedenun der kedlen. Fjern eventuel
tændvæske fra askeskuffen, inden kullene antændes.
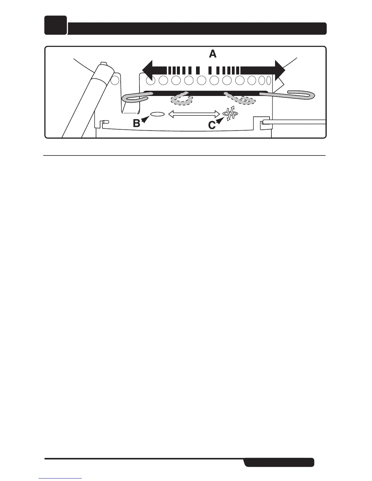
A - Eliminación de la ceniza B - Orificios cerrados C - Orificios abiertos
 ADVERTENCIA: Si usa fluidos para encender el carbón, revise siempre el recogedor de
cenizas antes de encender. El fluido que puede acumularse en el recogedor de cenizas podría
inflamarse y provocar un incendio debajo de la olla. Elimine cualquier fluido de encendido en el
recolector de cenizas antes de encender el carbón vegetal.
21

Related product manuals