EasyManua.ls Logo

Weil-McLain CGi 4 Series - Field Wiring

Weil-McLain CGi 4 Series
72 pages
Print Icon
To Next Page IconTo Next Page
To Next Page IconTo Next Page
To Previous Page IconTo Previous Page
To Previous Page IconTo Previous Page
Loading...
Part Number 550-142-302/0520
CGi
SERIES 4 — GAS-FIRED WATER BOILER — Boiler Manual
31
Field wiring
6
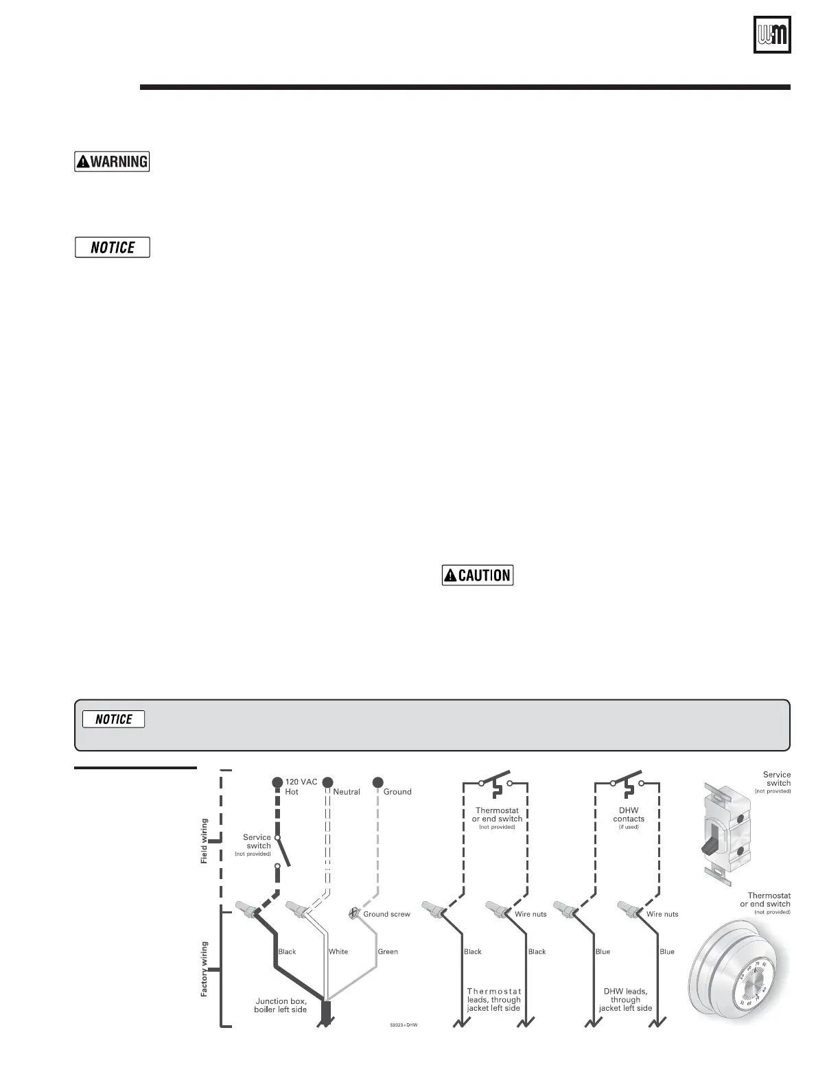
Figure 27
Field wiring connec-
tions —
service switch,
DHW
(if used) and
thermostat
(or end switch)
provided by installer
For your safety, turn off electrical power supply
at service entrance panel before making any
electrical connections
to avoid possible electric
shock hazard. Failure to do so can cause severe
personal injury or death.
Wiring must be N.E.C. Class 1.
If original rollout thermal fuse element wire as
supplied with boiler must be replaced, use only
type
200°C wire or equivalent. If other original
wiring as supplied with boiler must be replaced,
type 105°C wire or equivalent must be used.
Boiler must be
electrically grounded as required
by National Electrical Code ANSI/NFPA 70 –latest
edition.
Electrical installation must comply
with:
1. National Electrical Code ANSI/NFPA 70 – latest edition
and any other national, state, provincial or local codes
or regulations.
2. In Canada, CSA C22.1 Canadian Electrical Code Part 1, and
any local codes.
Wiring connections
Boiler is shipped with controls completely wired.
Thermostat
1. Connect thermostat as shown on wiring diagram on boiler.
2. Install on inside wall away from influences of drafts, hot
or cold water pipes, lighting fixtures, television, sun rays,
or fireplaces.
3. If thermostat has a heat anticipator, set heat anticipator in
thermostat to match power requirements of equipment con-
nected to it. If connected directly to boiler, set for 0.1 amps
plus gas valve current. See information on wiring diagram
as shown in
Figure 32, page 39. For other devices, refer to
manufacturer’s specifications. Wiring diagram on boiler gives
setting for control module and gas valve. Also see instructions
with thermostat.
DHW
Connect DHW aquastat as shown in wiring below. Economy
function isn’t utilized with DHW input.
Junction Box (furnished)
1. Connect 120 VAC power wiring as shown in Figure 27.
2. Fused disconnect or service switch (15 amp. recommended)
may be mounted on this box. For those installations with
local codes which prohibit installation of fused disconnect
or service switch on boiler, install a 2 x 4 cover plate on the
boiler junction box and mount the service switch remotely
as required by the code.
Wiring multiple zones
Refer to zone valve manufacturer’s literature for wiring and ap-
plication. A separate transformer is required to power zone valves.
Zoning with circulators requires a relay for each circulator.
DO NOT connect directly from 3-wire zone
valves to the T-T terminals on the boiler
.
When using 3-wire zone valves, install an isolation
relay. Connect the zone valve end switch wires to
the isolation relay coil. Connect the isolation relay
contact across the boiler T-T terminals. Failure to
comply can result in damage to boiler components
or cause unreliable operation, resulting in severe
property damage.
The CGi control module is polarity-sensitive. The hot and neutral wires must be connected to the correct leads.
A flashing POWER light usually indicates reversed polarity of 120 VAC lead wires.

Related product manuals