EasyManua.ls Logo

Wen 4210 - Know Your Drill Press

Wen 4210
28 pages
Print Icon
To Next Page IconTo Next Page
To Next Page IconTo Next Page
To Previous Page IconTo Previous Page
To Previous Page IconTo Previous Page
Loading...
8
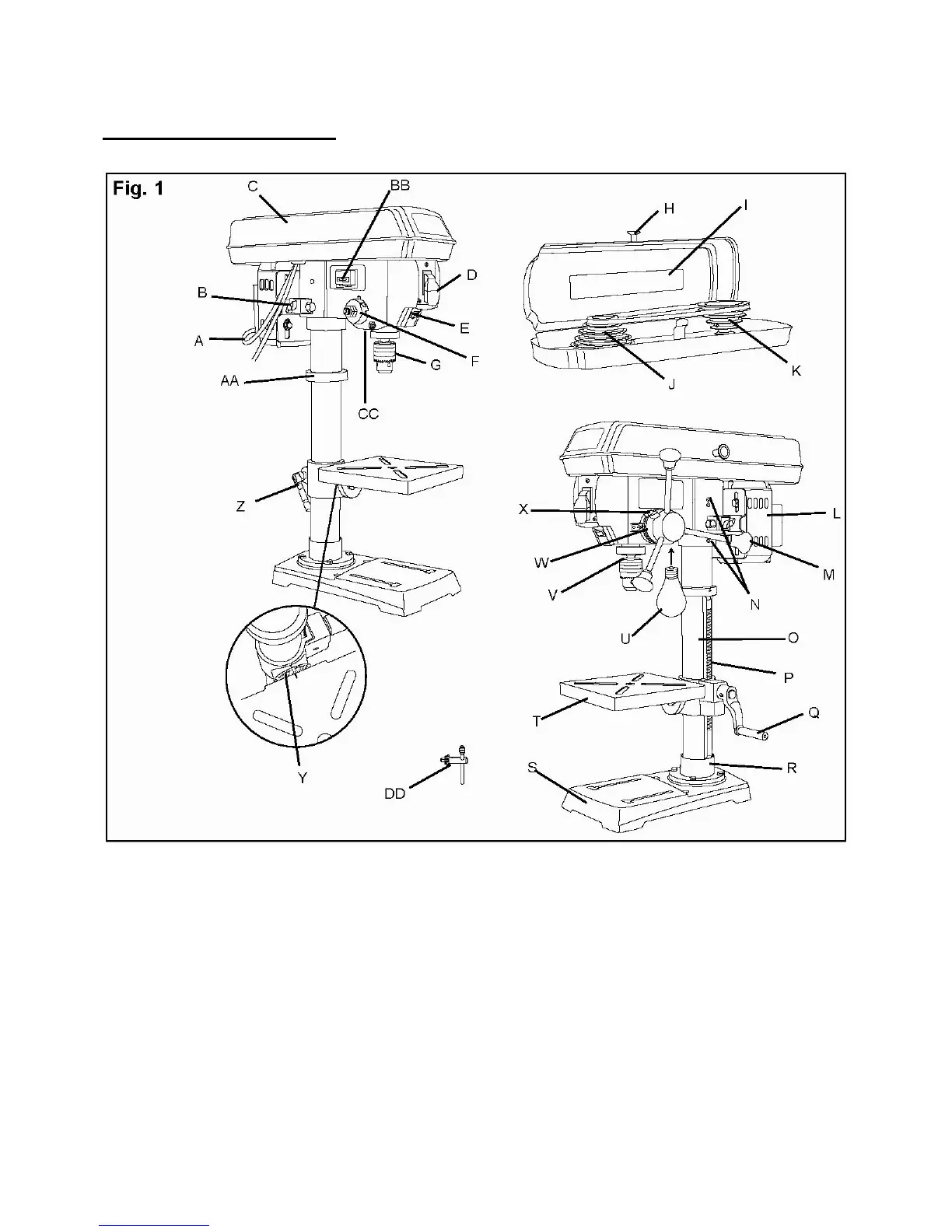
Know your drill press
A
Power cord
K
Motor pulley
U
Light bulb(not provided)
B
Tension lock knob
L
Motor
V
Quill
C
Pulley housing cover
M
Feed handle
W
Depth scale
D
On/off switch
N
Locking screw
X
Depth tension knob
E
Light switch
O
Column
Y
Bevel scale
F
Feed return spring and cover
P
Rack
Z
Support lock handle
G
Chuck
Q
Crank handle
AA
Rack collar
H
Pulley housing knob
R
Column support
BB
Laser switch
I
Belt/pulley speed chart
S
Base
CC
Laser light (2)
J
Spindle pulley
T
Table
DD
Chuck key

Other manuals for Wen 4210

Related product manuals