EasyManua.ls Logo

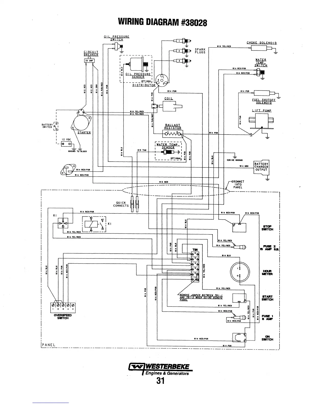
Westerbeke 4.5 BCGA - Wiring Diagram

Westerbeke 4.5 BCGA
54 pages
Print Icon
To Next Page IconTo Next Page
To Next Page IconTo Next Page
To Previous Page IconTo Previous Page
To Previous Page IconTo Previous Page
Loading...
I
BATTERY
tbl
SWITCH
l\
l
L'j'~
I
I
~
E
:!i
;
.
.
~
.
WIRING
DIAGRAM
#38028
OIL
PRESSURE
.s..\'illili
~
SPARK
PLUGS
flt
'£l/lt£D
CHOKE
SOLENOID
114
UD/f"Ult
114 AED/tUlt
114
PUii
FUEL
SHUTOFF
SOL
ENO
IQ
-r{
.z-..-.
0
·a~
~
LIFT
PUMP
~~--+--J-f--f-----t-~f'~"~Y~EMLl~•<~D:---;::t-~
Q
; RES l
STOR
.ilA.B.IU
~1
......
I
12
VDC
..
..
YELllED
I
.6.Al.J.All/10.d------t---t=-'""'t--T----~~--
" =
·-~
6fl:Oiii0
TO'=iLOCk
~114UD/l"Ult
~1410/,.Ull
11•n•
--
-+----l---
J..
l!ftlK(
HOUND
;
llZ
Ht
r~OMMET
1---------------------(.__
~-
---
------
:
OU
ICK
~
~
--
- --r----r- -
~l~~~---------1
-
f-1--
--------
-1-
I
CONNECTS
u u
114
ltED/P'Ufl.
tl4
IU/PUlt
I
I
l
I
I
1
I
114
'f[l/ftED
114
TEL/1(1)
! : [
TBI
114
Yll/AH
L-t--+--'==F>kc-T:;l1
1
Q
ti
4
Ilk
.---J___
__
---+--+-t--=~~
cQ
'------.J;<s
:;:
'---T-r=========~!'!C-.::,s
~
:
L+------F==F===~~
;
j;L=
/
ll4
YlL/111£0
~
~
..
~
; ;
.
OVERSPEED
SWITCH
~Of§jUHP£8
BETWffJI
TB!-t
~
mJ.Bt-2
WH£N
USING
R(NQTt
114
YELtflH
$
114
lltD/l'Ult
~
'---~~~~~~~~=..-,,~
:
~-
STOP
SWITCH
START
SWITCH
FUSE 1
8 AMP
i
114
REDtrUI
l)____
~CH
1
:
... ...
- i
~~-E~--------------------------------------------------------------
Engine!$ & Generators
31

Related product manuals