EasyManua.ls Logo

Westerbeke m-35B - WIRING DIAGRAM CATALINA YACHTS #200360; Catalina Yachts Specific Wiring Diagram

Westerbeke m-35B
57 pages
Print Icon
To Next Page IconTo Next Page
To Next Page IconTo Next Page
To Previous Page IconTo Previous Page
To Previous Page IconTo Previous Page
Loading...
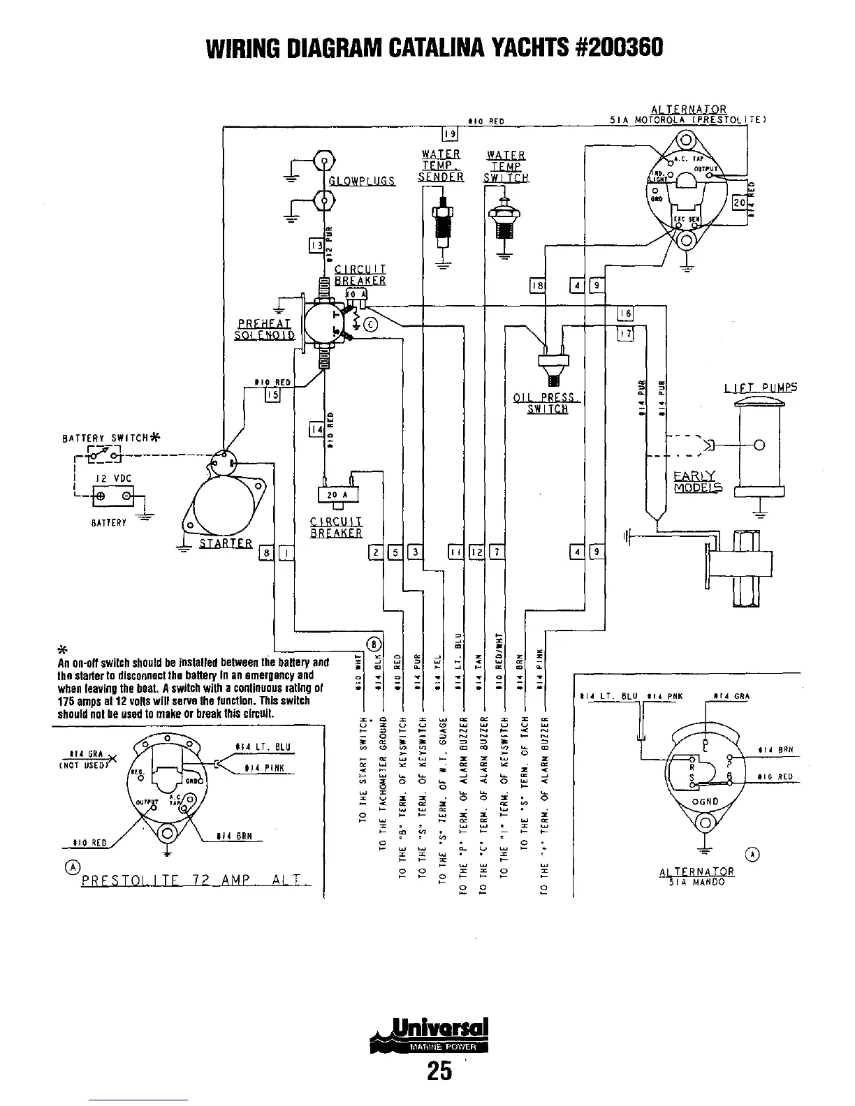
WIRING
DIAGRAM
CATALINA
YACHTS
#200360
!GS
PREHEAT
SOl
EMO
I Q
I~,......j~
__
,
BATTERY
SWITCH*
*
CIRCUlI
BREAKER
An
on·oll
swllch
should
be
inslalled
between
Ihe
ballery
and
the
starter
to
dlsconnecllhe
baHery
In
an
emergency
and
when
leaving
Ihe
boal.
A
switch
wllh
a
conlinuous
raling
01
175
amps
al12
voliS
will
,erveIhe
funclion.
Thl,
swllch
should
not
be
used
10
make
or
break
Ihls
clreull.
z.
0
U
%
~
~
~
0
~
tl~
GRA
.14
IT.
BlU
~
~
<
(NOT
USEO?<
~
~
IJ(
PINK
~
::
~
~
~
%
0
w
z
;;
u
~
g
w
;;
II
(
8RN
110
REO
g
0
PRESTOI
lIE
72
AMP
AI
I
Z
U
~
i
~
~
~
~
~
0
Z
~
w
~
~
w
"
g
LIFT
PIIMPS
- ':i}---f---<D
r 4 GRA
z
~
~
~
z
z
~
~
~
~
~
u u
w
<
~
~
~
N
~
~
N
~
N
~
~
~ ~
~
~
~
~
~
~
t 4 eRI(
..:
0
~
%
%
~
~
~
~
~
~
..
~
<
~
<
~ ~ ~
~
.,0
RED
0
~
<
<
0
w
<
0
~
~
~
~
%
,;
0 0
%
0
~ ~
~
w
~
,;
::
~
::
~
z
~
w
~
w
W Z
~
~
~
~
-
~
~
W
~
U
~
g
"
w
Z
"
~
~
~
w
g
"
"
g
z
AI
TERNATQR
g
51A
MANDO
g
g g
25

Table of Contents

Related product manuals