EasyManua.ls Logo

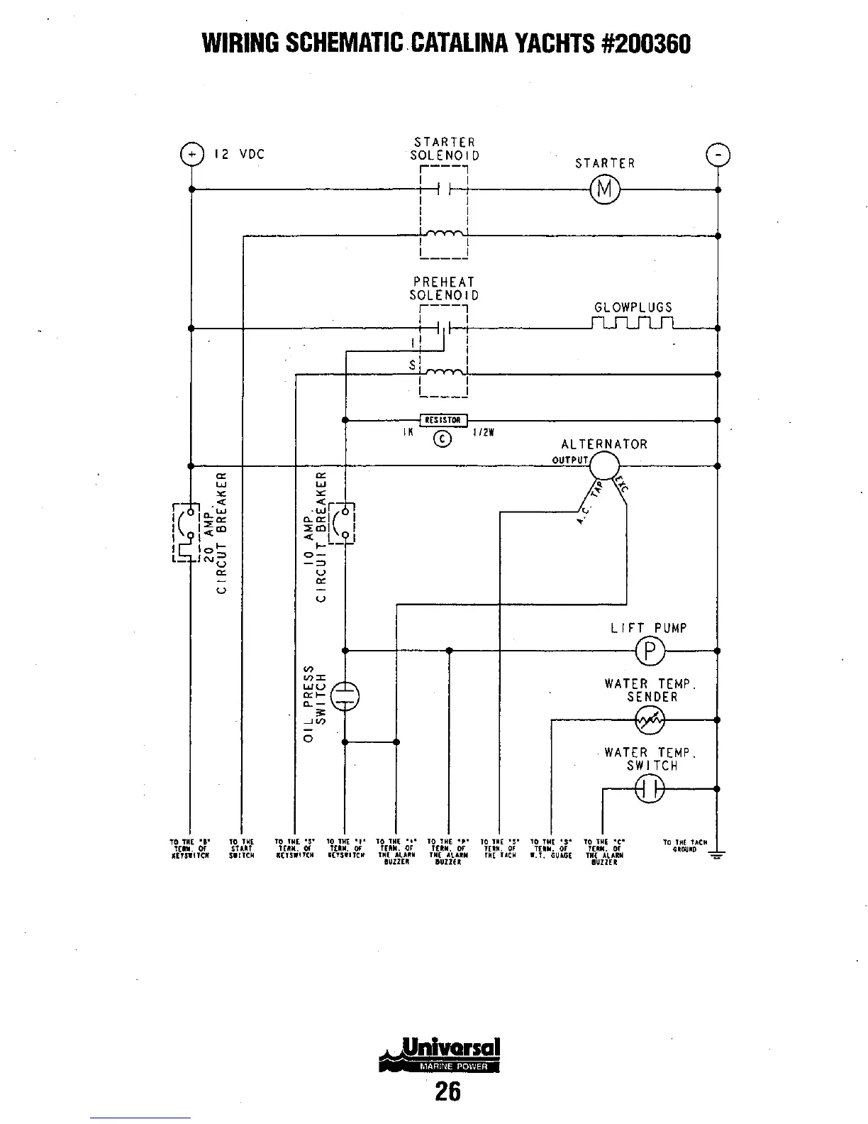
Westerbeke m-35B - WIRING SCHEMATIC CATALINA YACHTS #200360; Catalina Yachts Specific Wiring Schematic

Westerbeke m-35B
57 pages
Print Icon
To Next Page IconTo Next Page
To Next Page IconTo Next Page
To Previous Page IconTo Previous Page
To Previous Page IconTo Previous Page
Loading...
WIRING
SCHEMATIC
CATALINA
YACHTS
#200360
+
12
c:
LoJ
r
Ie
-;1
~
I
a.:~
1"10
1<
I
L
I
l_
lol-
l
NG
TO
TNt
'"
[
....
or
T
_UnlTeli
c:
-
v
VDC
10 TNt
nUT
SIITCH
A ST
RTE
R
SOLENOID
r---l
STARTER
I I
M
I I
I I
1_
.1
I
I
L
___
J
PREHEAT
SOLENOID
r---l
GLOWPLUGS
I
II'
I
II
I
I
s!
I
I I
L
___
J
RESISTOR
I K
CD
IIZW
AL
TERNATOR
OUTPUT
c:
"
LoJ
,
""
...
"
('
<r-r.
"
~~I(
I
"
"101 I
<,
..
.L-f-l
0-
-:::>
U
c:
-
U
LIFT
PUMP
P
<n
<no::
WATER
TEMP.
LoJU
C:I-
S~ER
c..-
~
--''''
\(J
-
0
WATER
TEMP.
SWITCH
TO
Tilt'S'
10 TNt
",
TO
1M(
','
TO
TN[
.,.
TO
lM[
'5'
10
TNt'S'
TO
TNE
'C'
TO
THE
fACM
H"M.
or
TUM,
or
TEIII.
or
TUM,
or
TUN.
Of
TUM.
or
TEIIM.
or
~(TS."(H
(USllTtll
TH(
AlAIN
THE
AU.II
THE
TACH
'.1.
GUlIH
TilE
AlARli
BUZZER
OllOllKO
_
BUlUII 8UZZU
••
Unlvarsal
MARINE POWER
26
-
L..

Table of Contents

Related product manuals