EasyManua.ls Logo

Westerbeke W-46 - Page 106

Westerbeke W-46
114 pages
Print Icon
To Next Page IconTo Next Page
To Next Page IconTo Next Page
To Previous Page IconTo Previous Page
To Previous Page IconTo Previous Page
Loading...
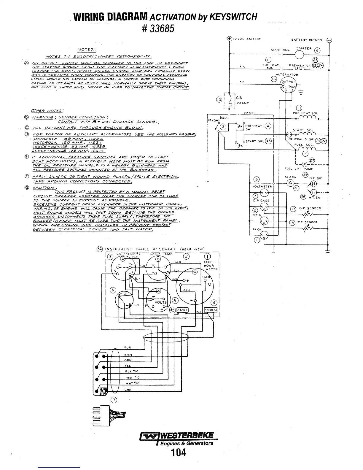
WIRING
DIAGRAM
ACT/VAT/ON
by
KEYSWITCH
----
. . #
33685
NOTES:
NOTES
ON
8UtlDEI?jOWN£1€'S
lii'ESPONS!Sit.ITY.
@
AN
ON-OFF
SWITCH
MUST
6E
I
STALU!'D
IN
THIS
LINE
TO
DISCONNECT
THIS
$TA2TEil'
CIIPCI.IIT
Fh'OM
THE
BATTEIE'Y
IH
AN
EMEJ<'GENCY
W#IEN
lE'A'I/'fN(;
THE.
J30AT.
I'ZVOLT
.DIES-EL-
ENt:ttV6
STAIZretPS
rYPICAI..~W
200
TO
300AMP5
WHEN
C'IC'~NKtN~~
r#E
DUif'l4rrON
OF
INOI._,f.l>f.IAI..
CI?ANK/Nffi
CYCLES
SJIOULl>
NOT
E/tCE£1>
30
SECON(l$.
A
SWITCH
WITH
CONTiNI.IOVS
eAttNG
OF
/7.5.A~,.S
Ar
J2VDC
WILL
NOIPMAI.t.r"
SERVE
'OlliS£
~UNC'IFDNS,
I!JUT
SUCH
A
SWITCH
Ml.lf,{
N/!:V£2
USI!!D
TO
'MAKE"
THE
STAE'~R
Clli!CIJ/r.
OTHER
NOTES;
@
'<:!_ARNIN<;;
i
SENOE~
CONNECT/ON;
CON'
TACT
WITH
£3 +
MAY
C>AMAGit:
.5EN&>ER.
(:}
ALL
li?ETI.IIi'N.S
ARE
THROU<#H
eNt;;INE
SLOCF::.
@
FOR
WIR!Nt;
OF
AUXILLAE'Y
ALTE/€'NATOI€'S
SG:E
TI-ll! FOlLOWING DtAGRI.JIS.
fviOTO!f'OLA
d.S
AMP,
1123
2-
MOTOROLA
120
AMP,
IIZ3
I
LeEC£
-Nevtae
53
AMP,
1<!..5.35
LE£CE-N£VIl.Ll!
105
AMP,~
®
IF
ADDITIONAl..
f>RcSSI.IR£
SWITCHES
AI?£
/?4Q".&>
TO S
TAI?T
BOAT
f'CCES$0/?ES,
A
t:t-EX18LJ!!!-
HOSE
MUS:T
1!51!
I<'UN
P:I?OM
THE
011.-
Pli!e.S:SUI?e:
MANIFO<D
TO"'
NE
..
~e>Y
8UtKHeAO
AN.D
AU,.
PRl!SSUI?E
SW/TC#E$
MOUNTED
AT
THE
Sut..I<'ITi!At:>,
®
APPLY
-5/LASrtC
01?
T/6HT
WOLIN&>
PtASTtc/SI'J,ICE
l£ti!CT!i'ICAL
[APe
AI<'QUND
CONNECTORS
CONNcCT£.1>.
1
®
IN.)TRUMENT
PANEL
A:'>SEMBLY
(REAR
VI[W)
(!)I
TACH-.
I
HOUR
I
MET"!R
l,.IWESTERBEKE
Engines
& Generators
104
+ 12 VOC &ATTERY
BATTERY
RETURN
ALTERNATOR
@
I-
START
sw.@l

Related product manuals