EasyManua.ls Logo

Whirlpool WFG320M0B - Electrical Requirements

Whirlpool WFG320M0B
16 pages
Print Icon
To Next Page IconTo Next Page
To Next Page IconTo Next Page
To Previous Page IconTo Previous Page
To Previous Page IconTo Previous Page
Loading...
5
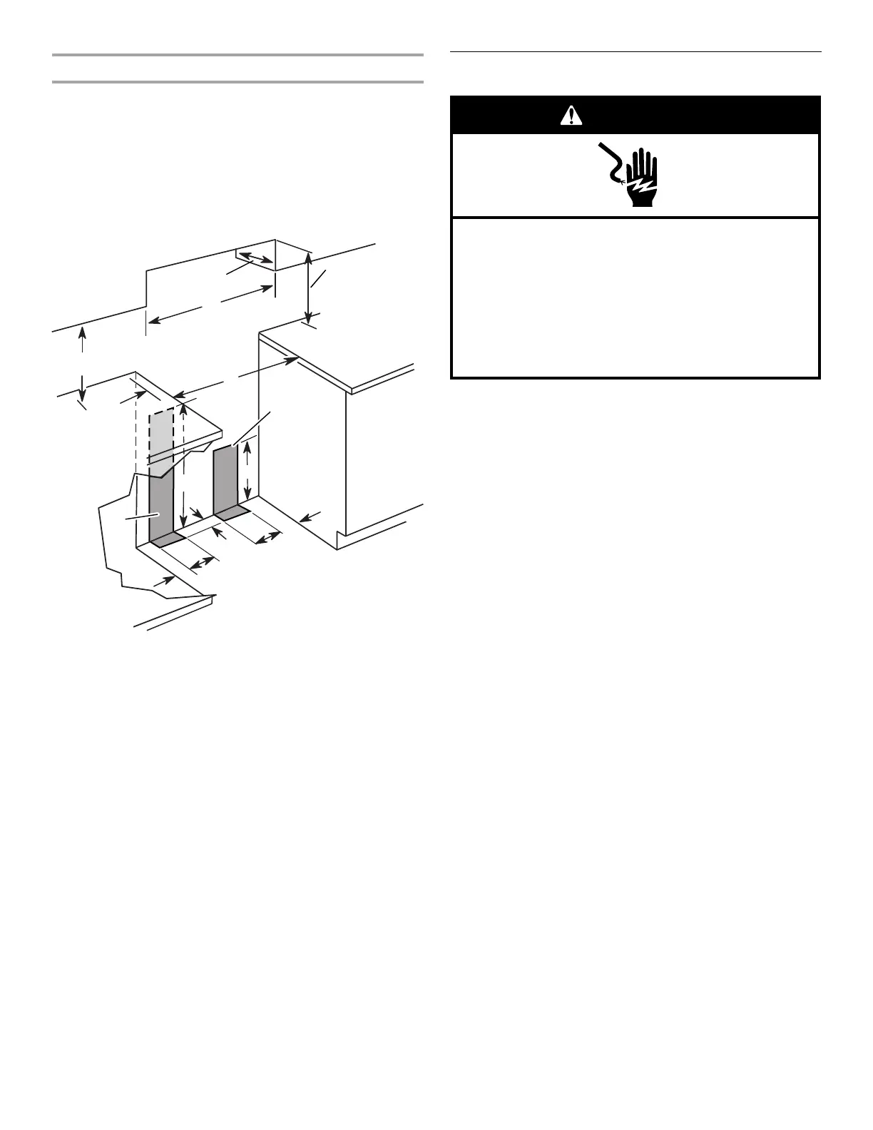
Cabinet Dimensions
Cabinet opening dimensions shown are for 25" (64.0 cm)
countertop depth, 24" (61.0 cm) base cabinet depth and 36"
(91.4 cm) countertop height.
If the cabinet depth is greater than 24" (61.0 cm), oven frame
must extend beyond cabinet fronts by ½" (13.0 mm) minimum.
IMPORTANT: If installing a range hood or microwave hood
combination above the range, follow the range hood or
microwave hood combination installation instructions for
dimensional clearances above the cooktop surface.
*NOTE: 24" (61.0 cm) minimum when bottom of wood or metal
cabinet is covered by not less than ¹⁄₄" (0.64 cm) flame retardant
millboard covered with not less than No. 28 MSG sheet steel,
0.015" (0.4 mm) stainless steel, 0.024" (0.6 mm) aluminum or
0.020" (0.5 mm) copper.
30" (76.2 cm) minimum clearance between the top of the
cooking platform and the bottom of an uncovered wood or metal
cabinet.
Electrical Requirements
IMPORTANT: The range must be electrically grounded in
accordance with local codes and ordinances, or in the absence
of local codes, with the National Electrical Code, ANSI/NFPA 70,
latest edition.
If codes permit and a separate ground wire is used, it is
recommended that a qualified electrical installer determine that
the ground path is adequate.
A copy of the above code standards can be obtained from:
National Fire Protection Association
1 Batterymarch Park
Quincy, MA 02169-7471
CSA International
8501 East Pleasant Valley Road
Cleveland, OH 44131-5575
A 120 volt, 60 Hz., AC only, 15-amp fused, electrical circuit is
required. A time-delay fuse or circuit breaker is also
recommended. It is recommended that a separate circuit
serving only this range be provided.
This range is equipped with a power supply cord having a
3 prong ground plug. To minimize possible shock hazard the
cord must be plugged into a grounded 3 prong outlet.
Electronic ignition systems operate within wide voltage limits,
but proper grounding and polarity are necessary. Check that
the outlet provides 120-volt power and is correctly grounded.
This range is equipped with an electronic ignition system that
will not operate if plugged into an outlet that is not properly
polarized.
Performance of this range will not be affected if operated on a
GFCI-protected electrical outlet. However, occasional
nuisance tripping of the GFCI breaker is possible due to the
normal operating nature of electronic gas ranges.
The wiring diagram is located on the back of the range in a
clear plastic bag.
NOTE: The metal chassis of the range must be grounded in
order for the control panel to work. If the metal chassis of the
range is not grounded, no keypads will operate. Check with a
qualified electrician if you are in doubt as to whether the
metal chassis of the range is grounded.
A. 18" (45.7 cm) min. clearance upper side cabinet to countertop
B. 13" (33.0 cm) max. upper cabinet depth
C. 30" (76.2 cm) min. cabinet opening width
D. For minimum clearance to top of cooktop, see NOTE*.
E. 30
¹⁄₈
" (76.5 cm) min. opening width
F. This shaded area recommended for installation of electrical outlet.
G. This shaded area recommended for installation of rigid gas pipe.
H. 2" (5.1 cm) min. countertop space to side wall or other combustible
material
I. 24" (61.0 cm)
J.
1
0" (25.4 cm)
K. 8" (20.3 cm)
L. 5" (12.7 cm)
M. 2" (5.1 cm)
N. 3" (7.6 cm)
A
B
C
D
E
F
G
H
J
K
M
L
L
N
I
Electrical Shock Hazard
Plug into a grounded 3 prong outlet.
Do not remove ground prong.
Do not use an adapter.
Do not use an extension cord.
Failure to follow these instructions can result in death,
fire, or electrical shock.
WARNING

Related product manuals