EasyManua.ls Logo

Whiteley Electronics PETS-2 - Page 40

Default Icon
40 pages
Print Icon
To Previous Page IconTo Previous Page
To Previous Page IconTo Previous Page
Loading...
Page 40 of 40
Issue 2
13/12/99
PETS-2 Crossing Telephone System
QUICKFIX INSTALLATION HANDBOOK
40
Appendix B
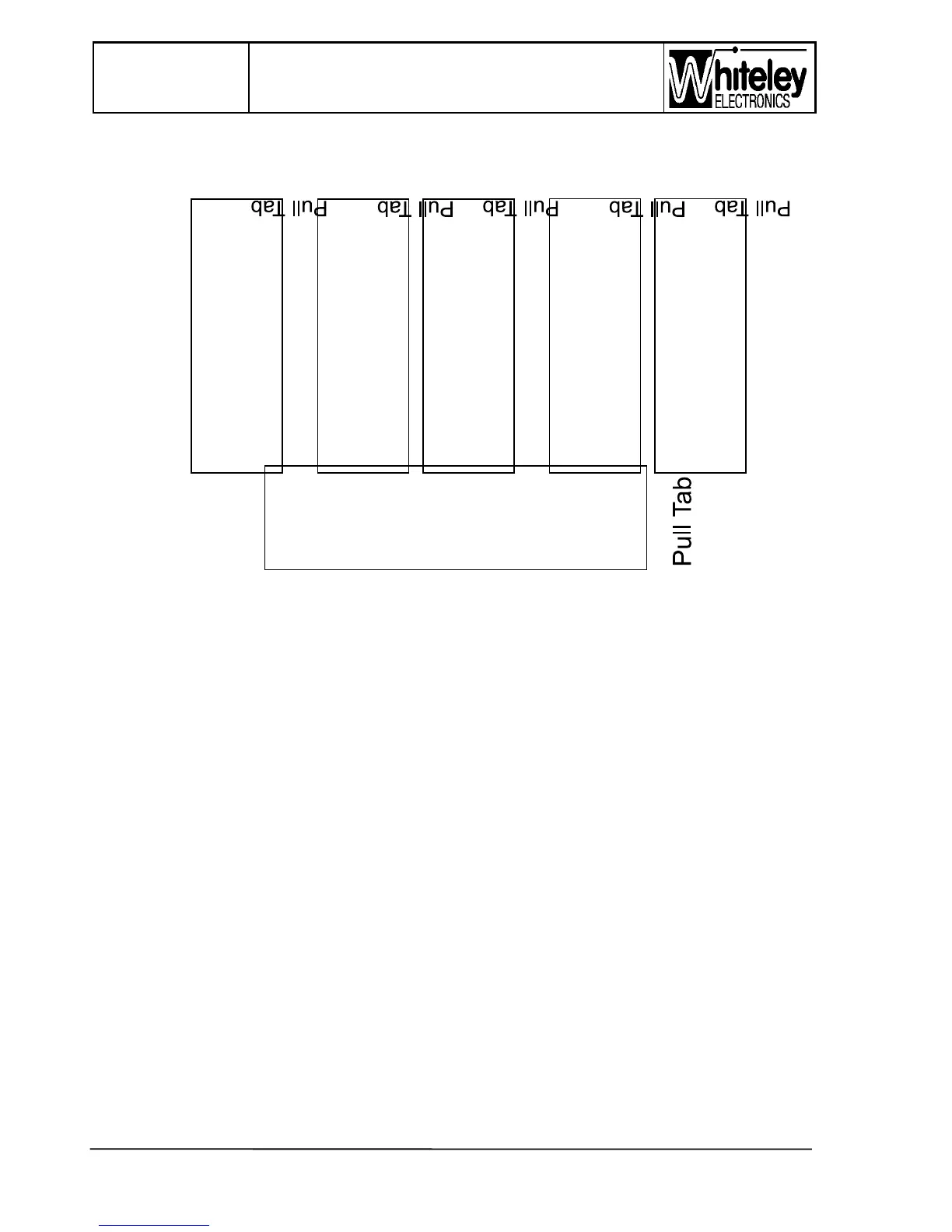
PETS 2 SIGNALBOX LABELS
MAINTAINER COMPANY NAME
STREET ADDRESS
TOWN ADDRESS
CITY & POST CODE
TEL:
CONTACT:
NOT
EQUIPPED
NOT
EQUIPPED
NOT
EQUIPPED
SUTTON
FOREST
LEVEL
CROSSING
NAME THE
LOCATION
LEVEL
CROSSING
A
lter the text within the boxes as required. Print this sheet on a Laser or Inkjet
with accurate size mapping, use good quality paper. Cut out the labels around
the border edge using scissors, cut accurately to the edge. Slide into the edge
aperture of the front panel, if the size is correct it should slide in easily and the
white paper should fill the window area, some alignment may be needed. The
‘Pull Tab’ part will stick out from the front panel edge. Fold this part to the
inside so as to trap this tab when the front panel is re-fitted. Assembly can be
made easier by Sello-taping the Pull Tab to the rear of the front panel. The
‘Pull Tab’ will be needed to remove the label in the future.
Black PVC tape covers the apertures behind the Line Card windows. If Barrier
A
larm Signalling is to be used, drafting film is recommended to allow the
required LED’s to show through. Puncture the black PVC tape as required,
keep Line 1 blacked out since the Line 1 LED’s may operate with mains/
charger failure.
Whiteley Electronics Ltd. 23/1/98 G42278a issue 1

Table of Contents