EasyManua.ls Logo

Whyte T-129 S - Page 24

Default Icon
44 pages
Print Icon
To Next Page IconTo Next Page
To Next Page IconTo Next Page
To Previous Page IconTo Previous Page
To Previous Page IconTo Previous Page
Loading...
Page 24
2016 Edition 1
WHYTE Service Manual
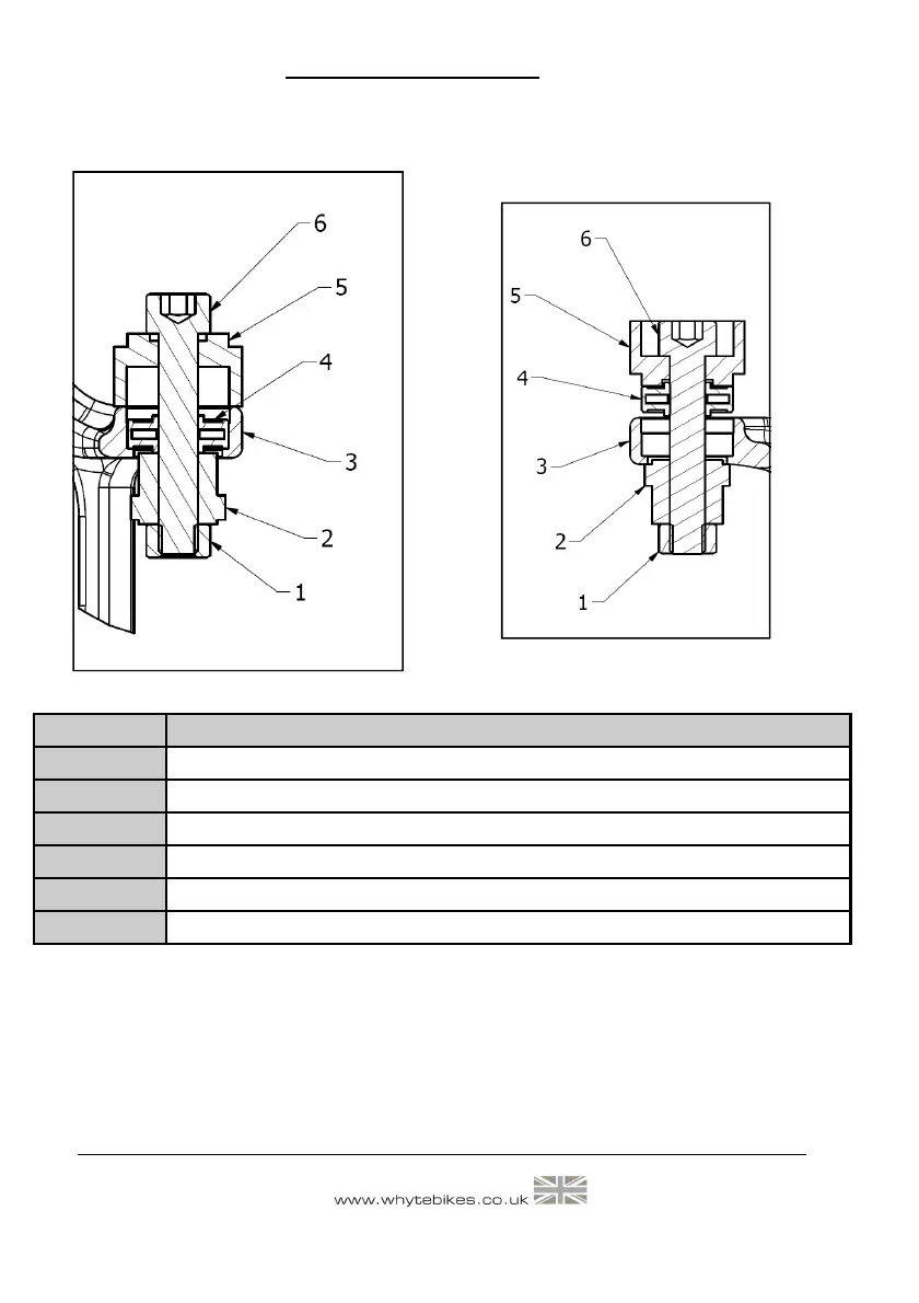
Item: Description.
1 M8 Nut
2 KP5AX or KP6AX Bearing Tool 1
3 Link, Seat-stay or Chain-stay Body
4 KP5AX or KP6AX Bearing
5 KP5AX or KP6AX Bearing Tool 2
6 M8 x 45mm Socket Head Cap Screw
Figure 17a: Bearing Extraction
Figure 17b: Bearing Insertion

Related product manuals