EasyManua.ls Logo

Whyte T-129 S - Page 31

Default Icon
44 pages
Print Icon
To Next Page IconTo Next Page
To Next Page IconTo Next Page
To Previous Page IconTo Previous Page
To Previous Page IconTo Previous Page
Loading...
Page 31 2016 Edition 1
WHYTE Service Manual
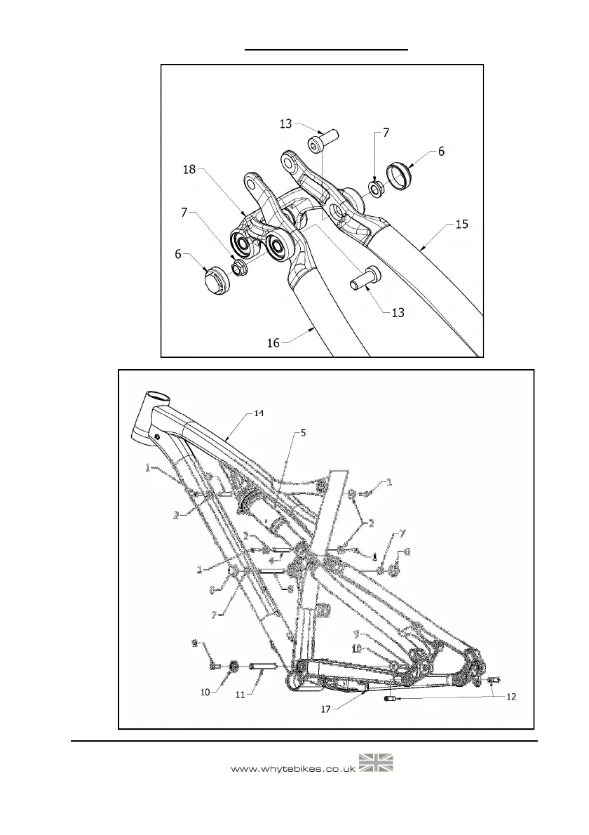
Figure 20: Reassembly of the Whyte T-129
or T-130-C or T-130
Rear Suspension
(First Stage)
Figure 21: Reassembly of the Whyte T-129
or T-130-C or T-130
Rear Suspension
(First Stage)

Related product manuals