EasyManua.ls Logo

Windpilot PACIFIC LIGHT - At the Windvane Shaft; At the Rudder Axle; Disassembly Procedure; Assembly Procedure

Default Icon
46 pages
Print Icon
To Next Page IconTo Next Page
To Next Page IconTo Next Page
To Previous Page IconTo Previous Page
To Previous Page IconTo Previous Page
Loading...
24
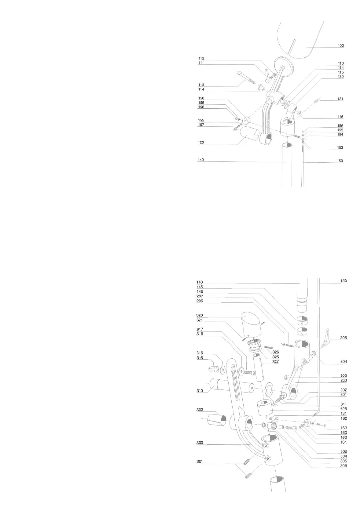
5.3.2 AT THE WINDVANE SHAFT
• Ifthewindvaneshaftwillnotturneasily(forcourse
adjustment) even when adjustment lever 205 is
released, remove locking screw 206/207 and raise
the windvane shaft.
• ApplyWD-40orTeflonsprayandreassemble,
taking care to ensure that bearing 141/142 is
properly positioned.
• Tightenlockingscrew206/207untilitstopsand
then loosen it slightly so that the windvane shaft
can turn freely. Screw 207 serves merely to hold
the shaft in place if the unit is lifted; it should not be
pressed hard against shaft 140.
5.3.3 AT THE RUDDER AXLE
• Ifthereisfrictionattherudderaxle,thesystemwill
have to be disassembled and cleaned.
5.3.3.1 DISASSEMBLY PROCEDURE
• Removethesystemfromthetransom.
• Removeredcap320.
• Removescrew327.
• Pushshaft255downoutofbevelgear325.
• Marktherelativepositionsofthetwogearsinthe
bevel gear linkage.
• Cleanbearing328.
5.3.3.2 ASSEMBLY PROCEDURE
• Checkthepositionofthetwogears.Theleveron
thesmallgear305shouldbeinthe‘quarterpast
twelve’ position.
• Checkthatthependulumarmisvertical.
• Check that the pendulum rudder blade is in line
with the keel.
• Checkthattheholeinbevelgear325isflushwith
the hole in shaft axle 327.
5.3.4 AT THE STEERING LINES
• Dotheblocksmovefreely?
• Arethetransmissionpathstoolong?
• Isthewheeltoofarfromthetransom(centre
cockpit)?
• Arethemainrudderbearingsstiff?
• Isthewheelsteeringsystemstiff?
5.4 THE PUSH ROD IS BENT
• Checkthebalanceproportionofpendulumrudder
blade 440 (see 1.7 The Pendulum Rudder).
• Thepushrodcanbestraightenedeasily.
5.5 THE WINDVANE SHAFT IS LOOSE
• Tightenbolts205

Table of Contents