EasyManua.ls Logo

Xylem Rule-Mate 500 - Page 48

Xylem Rule-Mate 500
52 pages
Print Icon
To Next Page IconTo Next Page
To Next Page IconTo Next Page
To Previous Page IconTo Previous Page
To Previous Page IconTo Previous Page
Loading...
48
Si el circuito impreso detecta que el motor está funcionando pero trabajando poco
(no bombea agua) durante más de quince segundos, la bomba entrará a un modo de
ciclaje de la misma forma que las bombas computarizadas. La bomba detectará agua
cada 2,5 minutos y si detecta agua, seguirá funcionando hasta que el agua se haya
retirado de la sentina.
Después de quitar la suciedad, la bomba automáticamente volverá al modo de
detección de nivel.
PRECAUCIÓN: Desconecte la alimentación eléctrica del sistema
antes de trabajar en la unidad para evitar lesiones personales, daños en el
entorno circundante y/o daños en la unidad.
PRECAUCIÓN: Mantenga todas las conexiones de cables por encima
del nivel máximo de agua. Los cables deben unirse con conectores de
empalme y un sellador especial para entornos marinos con el fin de evitar
la corrosión de los cables.
PRECAUCIÓN: Instale siempre un fusible que tenga el tamaño
adecuado para impedir que el producto resulte dañado si se produce un
cortocircuito. Si no instala un fusible que tenga el tamaño adecuado, puede
aumentar el riesgo de que la bomba funcione incorrectamente y de que se
produzcan lesiones personales y/o riesgo de incendio.
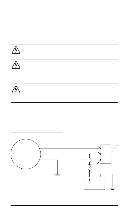
Cableado de bombas automáticas — 3 cables
Interruptor de panel
de 3 posiciones
Marrón con franja blanca
MANUAL
ENCENDIDO
Marrón
Negro
Batteria
BOMBA
Interruptor
de panel
Fusible
AUTO