EasyManua.ls Logo

Yale FS030BF - Page 11

Yale FS030BF
16 pages
Print Icon
To Next Page IconTo Next Page
To Next Page IconTo Next Page
To Previous Page IconTo Previous Page
To Previous Page IconTo Previous Page
Loading...
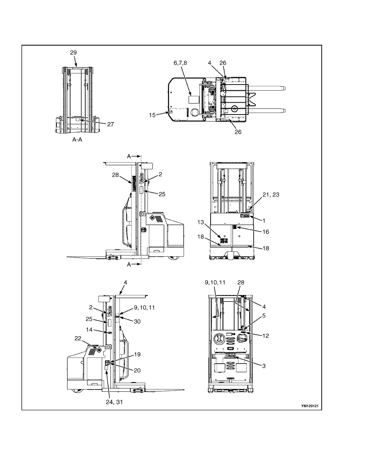
Label Replacement 100 YRM 760
Figure 5. Decal and Plate Location (FS030BF, OS030BF, OS030EF, and SS030BF)
6

Related product manuals