EasyManua.ls Logo

Yamaha 150 - Forward (Tiller Handle and Remote Control Models); Reverse (Automatic Reverse Lock and Power Trim and Tilt Models); Stopping Engine; Procedure

Yamaha 150
82 pages
Print Icon
To Next Page IconTo Next Page
To Next Page IconTo Next Page
To Previous Page IconTo Previous Page
To Previous Page IconTo Previous Page
Loading...
Operation
33
EMU27764
Forward (tiller handle and remote
control models)
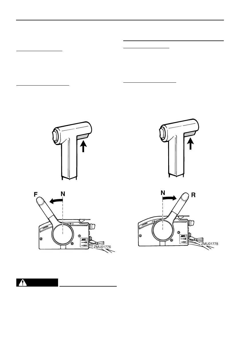
Tiller handle models
1. Place the throttle grip in the fully closed
position.
2. Move the gear shift lever quickly and
firmly from neutral to forward.
Remote control models
1. Pull up the neutral interlock trigger (if
equipped) and move the remote control
lever quickly and firmly from neutral to
forward.
EMU27785
Reverse (automatic reverse lock and
power trim and tilt models)
WARNING
EWM00190
When operating in reverse, go slowly. Do
not open the throttle more than half. Oth-
erwise the boat could become unstable,
which could result in loss of control and
an accident.
Tiller handle models
1. Place the throttle grip in the fully closed
position.
2. Move the gear shift lever quickly and
firmly from neutral to reverse.
Remote control models
1. Pull up the neutral interlock trigger (if
equipped) and move the remote control
lever quickly and firmly from neutral to
reverse.
EMU27820
Stopping engine
Before stopping the engine, first let it cool off
for a few minutes at idle or low speed. Stop-
ping the engine immediately after operating
at high speed is not recommended.
EMU27844
Procedure
1. Push and hold the engine stop button or
UP
DN
ZMU03909
UP
DN
ZMU03909

Table of Contents

Related product manuals