EasyManua.ls Logo

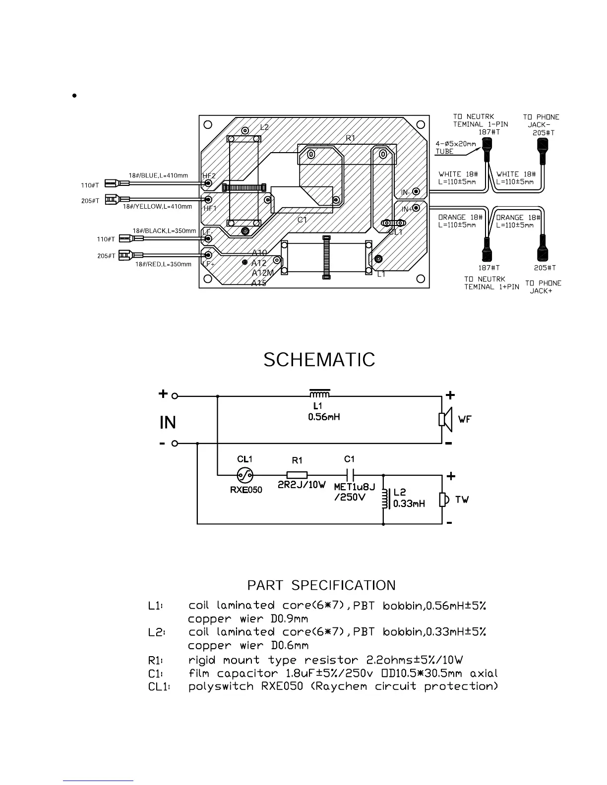
Yamaha A15 - A12 Crossover Diagram

Yamaha A15
23 pages
Print Icon
To Next Page IconTo Next Page
To Next Page IconTo Next Page
To Previous Page IconTo Previous Page
To Previous Page IconTo Previous Page
Loading...
5
SPEAKER SYSTEM/SUBWOOFER
A10/A12/A12M/A15/A15W
A12

Related product manuals