EasyManua.ls Logo

Yamaha RY8 - Page 54

Yamaha RY8
104 pages
Print Icon
To Next Page IconTo Next Page
To Next Page IconTo Next Page
To Previous Page IconTo Previous Page
To Previous Page IconTo Previous Page
Loading...
46
If the LCD displays the words “MEMORY FULL”, you cannot record a User song. To free up memory,
clear any unwanted User patterns or songs. (Be sure to save any important User data first, offloading it
to an external storage device such as the Yamaha MDF2 MIDI Data Filer.)
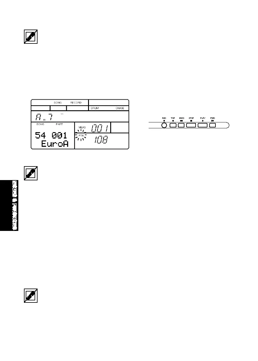
ENTERING SONG RECORD MODE - First, enter Song Mode and select a User
song location. Then, press [REC] to enter Song Record Standby Mode, which
means the RY8 will be standing by ready to record—by either the Step or
Realtime recording process. (To exit Song Record Mode, press [REC] again.)
You cannot enter Song Record Mode when a Preset song (#00 ~ #49) is selected. If you press [REC]
when a Preset song is selected, the word “PRESET” will appear briefly in the LCD to remind you to
select a User song and then try again.
ENTERING STEP RECORD MODE - From within Song Record Standby Mode,
you can go ahead and start entering data. (To exit Step Record Mode, press
[REC] again.)
RECORDING IN STEP-TIME - Step recording is comprised of two distinct
operations:
1. Entering one-measure song “parts” in the pattern track by selecting a
Preset or User pattern number with [-1] and [+1].
2.
Recording chord changes in the chord track with the Chord Assign
feature.
In Step Record Mode, pressing [ENTER] after selecting a pattern number will advance the clock
position location by one measure—ready for you to select the next part. This is especially useful when
you want to enter the same pattern as a series of parts—just press [ENTER] several times.
MODES&FUN.QX99.11.176:02PMページ46

Related product manuals