EasyManua.ls Logo

Yamaha VF115 - Page 59

Yamaha VF115
104 pages
Print Icon
To Next Page IconTo Next Page
To Next Page IconTo Next Page
To Previous Page IconTo Previous Page
To Previous Page IconTo Previous Page
Loading...
Operation
53
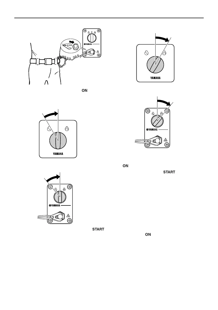
(3) Turn the main switch to the “ ” (on) po-
sition.
(4) Turn the main switch to the “
(start) position, and hold it for a maxi-
mum of 5 seconds.
(5) Immediately after the engine starts, re-
lease the main switch to return it to the
“” (on) position. NOTICE: Never turn
the main switch to “ ” (start) while
the engine is running. Do not keep the
starter motor turning for more than 5
seconds. If the starter motor is turned
continuously for more than 5 seconds,
the battery will be quickly discharged,
thus making it impossible to start the
engine. The starter can also be dam-
aged. If the engine will not start after 5
seconds of cranking, return the main
switch to “ ” (on), wait 10 seconds,
then crank the engine again.
[ECM00193]
ZMU04628
ZMU07031
ON
OFF
ZMU06927
ON
OFF
ZMU07032
ON
START
ZMU06928
ON
START
U6FN36E0.book Page 53 Tuesday, November 30, 2021 8:08 AM

Table of Contents