EasyManua.ls Logo

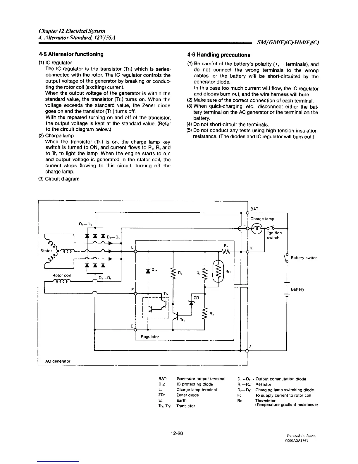
Yanmar 2GM20F - Alternator Functioning; Alternator Handling Precautions

Yanmar 2GM20F
463 pages
Print Icon
To Next Page IconTo Next Page
To Next Page IconTo Next Page
To Previous Page IconTo Previous Page
To Previous Page IconTo Previous Page
Loading...

Table of Contents

Other manuals for Yanmar 2GM20F

Related product manuals