EasyManua.ls Logo

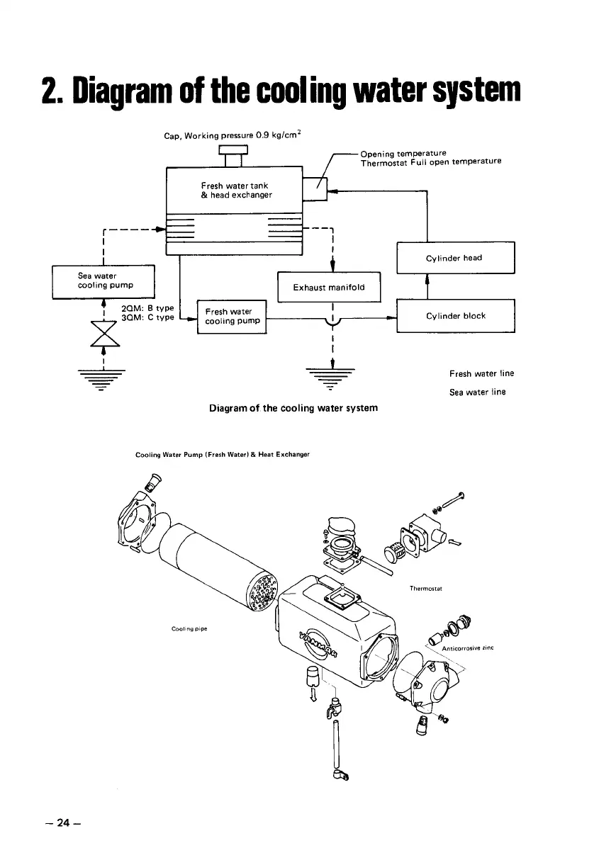
Yanmar 2QM20F - Diagram of the Cooling Water System

Yanmar 2QM20F
34 pages
Print Icon
To Next Page IconTo Next Page
To Next Page IconTo Next Page
To Previous Page IconTo Previous Page
To Previous Page IconTo Previous Page
Loading...

Related product manuals