EasyManua.ls Logo

Yanmar YM155 - Low-High Shift Shaft Assembly; Main Change Shaft Assembly

Yanmar YM155
159 pages
Print Icon
To Next Page IconTo Next Page
To Next Page IconTo Next Page
To Previous Page IconTo Previous Page
To Previous Page IconTo Previous Page
Loading...
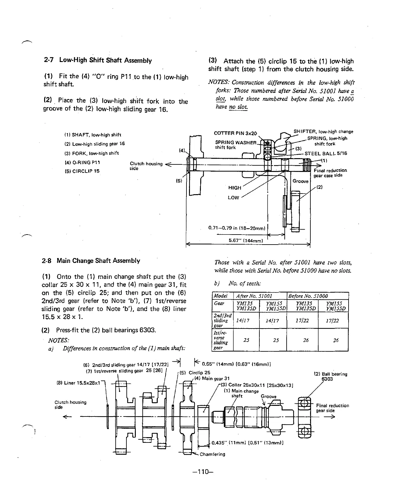
2-7
Low-High Shift Shaft Assembly
(3)
Attach the (5) circlip 15 to the (1) low-high
shift shaft (step 1) from the clutch housing side.
(1)
Fit the
(4)
"0"
ring P11 to the (1) low-high
shift shaft.
NOTES: Consmction differences in the low-high shift
forks: Those numbered after
Se~l No.
51001
have a
(2)
Place the
(3)
low-high shift fork into the
slot, while those numbered before Serial No,
51000
groove of the
(2)
iow-high sliding gear 16.
have
noslot
Ill
SHAFT,
low-high
shift
12)
Low.high
sliding
gear
16
13)
FORK.
low-high
rhifl
14)
O-RING
PI1
(5)
CIRCLIP
15
Clutch
ride
housing
2-8
Main Change Shaft Assembly
Those with a Serial No. after
51001
hove two slots,
while those wirh Serial No. before
51000
have no slots.
(1) Onto the (1) main change shaft put the (3)
collar 25
x
30
x
11, and the
(4)
main gear 31, fit
b) No. of reerh:
on the (5) circlip 25; and then put on the (6)
2ndl3rd gear (refer to Note
'b'),
(7)
Istlrevene
sliding
gear
(refer to Note 'b'), and the
(8)
liner
15.5
x
28
x
1.
(2)
Press-fit the (2) ball bearings 6303.
NOTES:
a)
Differences in construction of
the
(I)
main shaft:
(6)
2nd/3rd
rlidinggear
14/17 (171221
+l
k
0.55''
114rnrn)
10.63"
116rnrnll
(81
Liner
15.5~28~1
Clutch
housing
ride
'nal
reduction
t
Model
Gear
2nd/3rd
sliding
gear
Isrlre-
verse
sliding
gear
Afrerh.
51001
YM135
YM135D
1411 7
25
Before
No.
51000
YM135
YYMIS5D
14/17
25
YM135
YM135D
17/22
26
YM155
YM155D
17/22
26

Table of Contents

Related product manuals