EasyManua.ls Logo

Yard-Man 614 - Page 38

Yard-Man 614
48 pages
Print Icon
To Next Page IconTo Next Page
To Next Page IconTo Next Page
To Previous Page IconTo Previous Page
To Previous Page IconTo Previous Page
Loading...
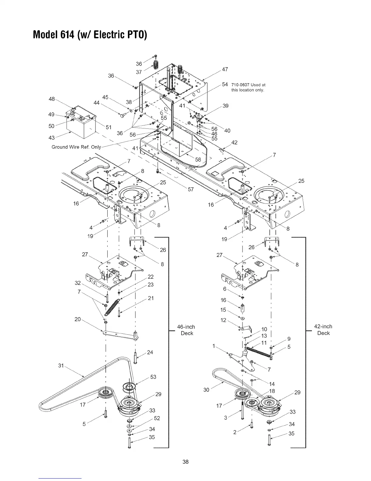
Model614(w/ ElectricPTO)
36
37
36_
43
Ground Wire Ref. Onl_
51
36
41
_-7
/54 710-0607 Used at
/ this location only,
39
25
31
19
32
46-inch
Deck
30
42-inch
Deck
38

Related product manuals