EasyManua.ls Logo

Yardistry YM12842X - Step 2: Front Wall Assembly

Default Icon
108 pages
Print Icon
To Next Page IconTo Next Page
To Next Page IconTo Next Page
To Previous Page IconTo Previous Page
To Previous Page IconTo Previous Page
Loading...
18 support@yardistrystructures.com
#10 x 4 ” Wood Screws
Connects Right and Left Posts to
Front Base
#10 x 4 ” Wood Screws
Connects Right and Left Posts to
Front Base
#10 x 4 ” Wood Screws
Connects Right and Left Posts to
Front Base
Hardware
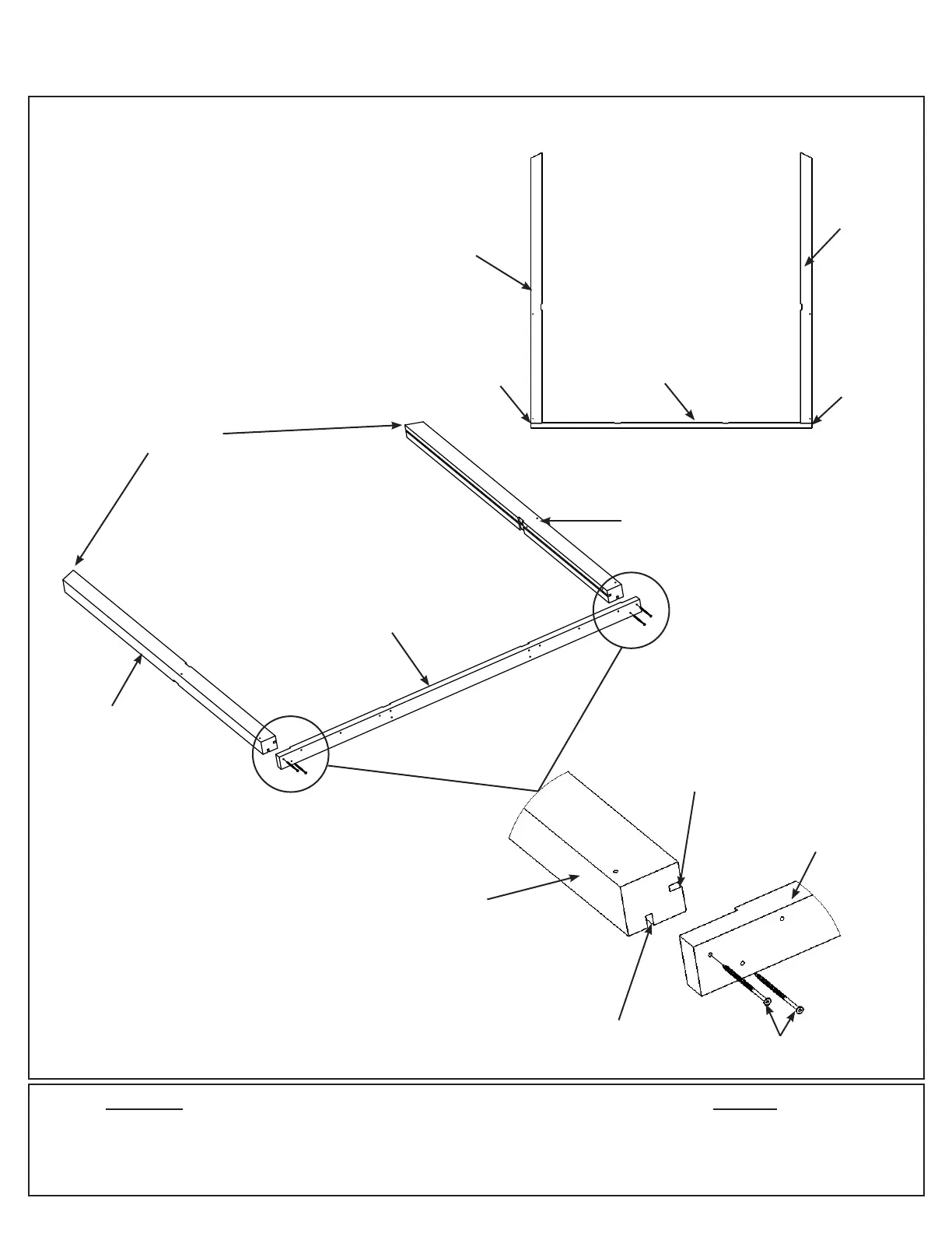
Step 2: Front Wall Assembly
Part 1
A: At the bottom of one (1108) Left
Post and one (1109) Right Post attach
one (1119) Front Base with two #10 x
4” Wood Screws per post. Make sure
grooves in posts are facing inwards

ends of (1119) Front Base. (F2.1, F2.2
and F2.3)
F2.1
F2.2
(1109)
Right
Post
(1108) Left
Post
Top
Bottom
(1119) Front Base
Wood Parts
1 x (1108) Left Post
1 x (1109) Right Post
1 x (1119) Front Base
4 x #10 x 4” Wood Screw
(1109)
Right
Post
(1108) Left
Post
(1119) Front Base
F2.3
#10 x 4”
Wood Screw
Flush
Flush
(1119)
Front Base
Post
Grooves face
inwards
Grooves face
to the back
Notice
orientation
of angles