EasyManua.ls Logo

YUNEEC E-GO2 - Page 8

YUNEEC E-GO2
26 pages
Print Icon
To Next Page IconTo Next Page
To Next Page IconTo Next Page
To Previous Page IconTo Previous Page
To Previous Page IconTo Previous Page
Loading...
6
START button
throttle / brake
flash light
battery status indicator*
riding mode switch
speed mode switch
torch light switch
mini USB port
6.
7.
8.
9.
10.
11.
12.
13.
18
14
15
17
16
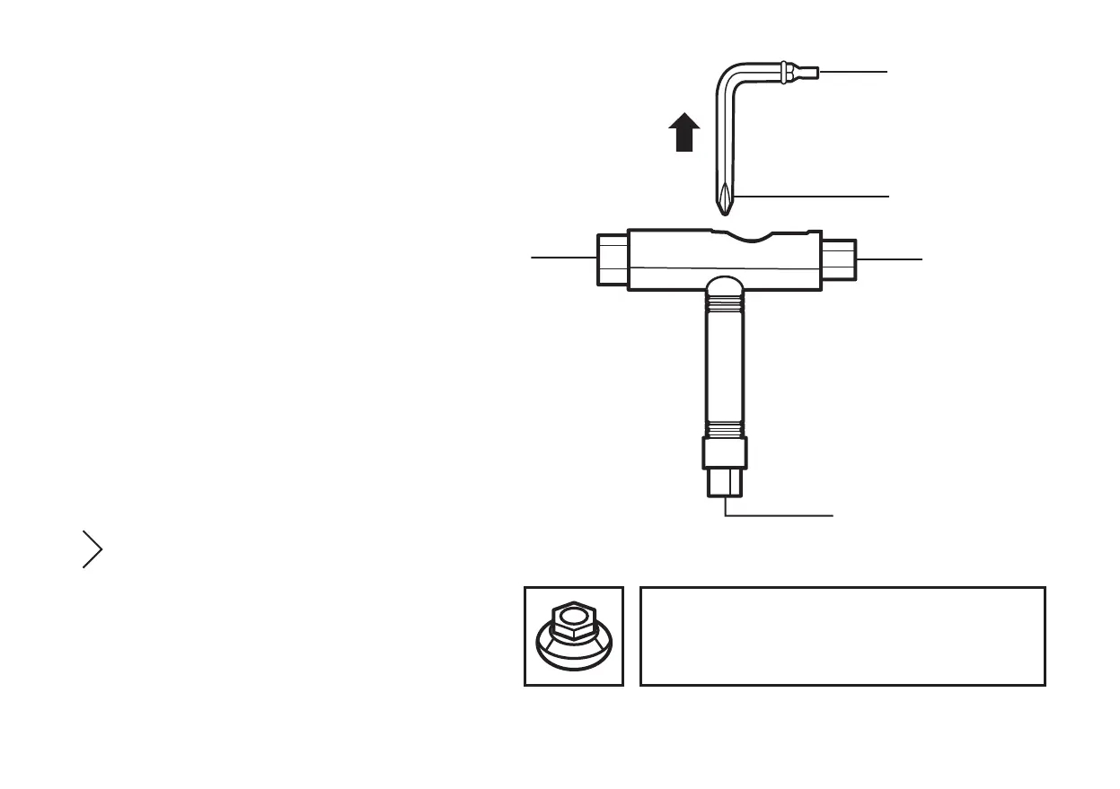
hex tool
phillips tool
nut tool
kingpin nut tool
axle nut tool
14.
15.
16.
17.
18.
THE TRUCK TOOL
To To maximize your E-GO2's performance
you will need to do regular maintenance
checks (for more info on maintenance
please check page 17), making sure the
board is not obstructed by dirt and all nuts
and bolts are properly tightened. To tighten
and loosen these nuts and bolts, your E-GO2
comes with a specific tool - the truck tool -
that allows you to do that. In general you
should make sure all parts are screwed on
there nice and tight, with the exception of
the kingpin nut which can be adjusted
according to your personal riding style.
Tightening the kingpin will give a more stable, rigid
ride. Loosening the kingpin nut will make the board
more maneuverable and decreases the diameter of
your turn radius, allowing sharper turns.

Other manuals for YUNEEC E-GO2

Related product manuals