EasyManua.ls Logo

Zanotti FZ007 - Page 10

Zanotti FZ007
Print Icon
To Next Page IconTo Next Page
To Next Page IconTo Next Page
To Previous Page IconTo Previous Page
To Previous Page IconTo Previous Page
Loading...
10
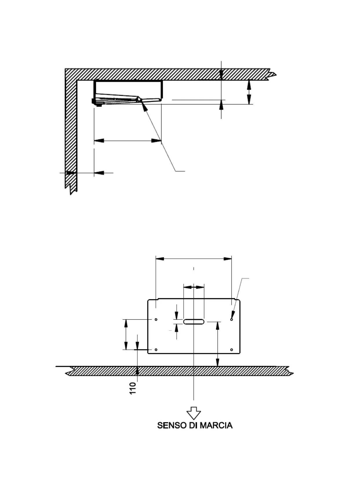
5. Dimensioni e fissaggio unita’
Fissaggio evaporatore
515
95
115
140
30
320
135
500
4 viti autofilettanti
Filo interno
Parete anteriore
185
SFZ 007
SFZ 008

Related product manuals