EasyManua.ls Logo

Zebra 105SL - Page 158

Zebra 105SL
246 pages
Print Icon
To Next Page IconTo Next Page
To Next Page IconTo Next Page
To Previous Page IconTo Previous Page
To Previous Page IconTo Previous Page
Loading...
Page 4-72 105SL Maintenance Manual 32056L Rev. 2 12/4/01
SECTION 4 PREVENTIVE AND CORRECTIVE MAINTENANCE
5LEERQ6XSSO\6SLQGOH5HSODFHPHQW
1. Refer to RRP No. 1 on page 4-10 and place the power switch in the Off (O) position
and disconnect the AC power cord. Disconnect the data cables.
2. Open the media cover.
3. Open the printhead and remove the media and ribbon. Close the printhead.
4. Refer to RRP No. 2 on page 4-12 and remove the electronics cover.
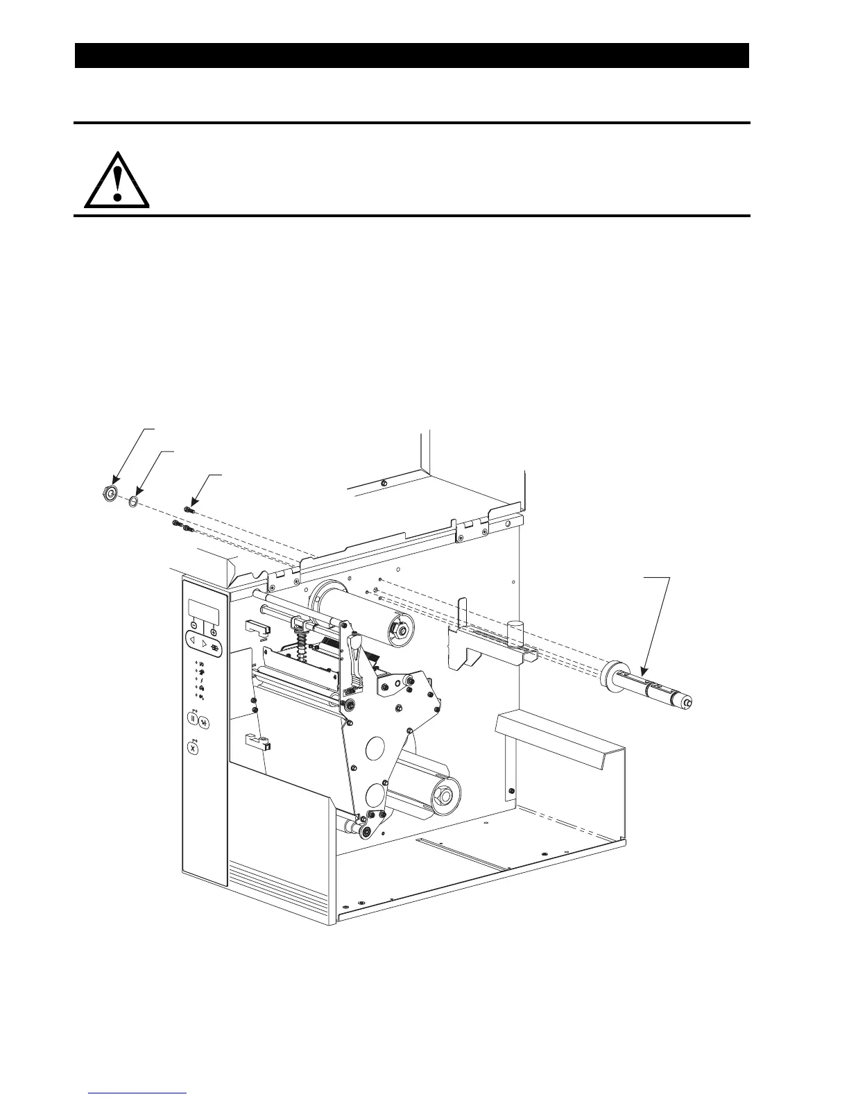
5. Refer to Figure 4-54. Remove the nut and washer that attaches the ribbon supply
spindle.
6. Remove the three screws that attach the bearing housing.
CAUTION:
NEVER TURN THE RIBBON SUPPLY SPINDLE COUNTERCLOCKWISE
AS VIEWED FROM THE END. DOING SO CAN DISCONNECT THE
TENSION SPRING AND REQUIRE THE SPINDLE TO BE REBUILT.
Figure 4-54. Ribbon Supply Spindle Kit Parts and Mounting Location
POWER
TAKE LABEL
ERROR
CHECK RIBBON
CANCEL
FEED
PAP ER O UT
PAUSE
DATA
PREVIOUS
NEXT/SAVE
SETUP/EXIT
Ribbon Supply
Spindle Assembly
Flange Hex Nut
Allen Screws (3)
Washer

Other manuals for Zebra 105SL

Related product manuals