EasyManua.ls Logo

Zebra 105SL - Page 167

Zebra 105SL
246 pages
Print Icon
To Next Page IconTo Next Page
To Next Page IconTo Next Page
To Previous Page IconTo Previous Page
To Previous Page IconTo Previous Page
Loading...
32056L Rev. 2 12/4/01 105SL Maintenance Manual Page 4-81
PREVENTIVE AND CORRECTIVE MAINTENANCE SECTION 4
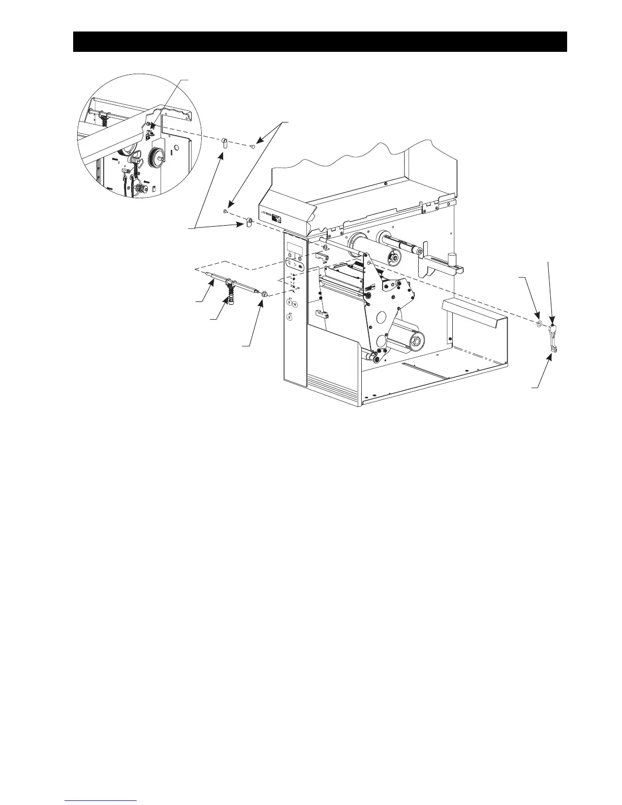
7. On the left side of the printer, pry off the shield trimount retainer that retains the
printhead open flag.
8. Slide the pivot shaft to the right and remove the flag.
9. Slide the pivot shaft to the left. Move the right-hand end of the shaft out of the plastic
bearing in the side plate. Slide the entire pivot shaft with toggle assembly out from the
printer.
NOTE: The flag, the toggle assembly, and the printhead lever are all keyed on the
pivot shaft assembly and must all be installed in the same orientation for
the head open sensor to work correctly.
10. Insert the left end of pivot bar and toggle assembly through the main frame of the
printer. Work the right end of the pivot bar into the plastic bushing in the side plate.
11. Rotate the pivot shaft until the toggle assembly points down holding the printhead
closed.
12. On the left side of the printer, install the flag, facing down, in the sensor slot.
13. Hold the pivot bar and toggle assembly and press on the shield trimount retainer.
14. Reinstall the wave washer.
Figure 4-61. Pivot Bar, Handle and Toggle Parts
POWER
TAKE LABEL
ERROR
CHECK RIBBON
CANCEL
FEED
PAPE R O UT
PAUSE
DATA
PREVIOUS
NEXT/SAVE
SETUP/EXIT
Printhead
Lever
Wave
Washer
Toggle
Assembly
Pivot Bar
Flag
Shield
Trimount
Retainer
Flag Slot
Back of Printer
Plastic
Bearing
Retaining
Screw

Other manuals for Zebra 105SL

Related product manuals