EasyManua.ls Logo

Zebra 105SL - Page 171

Zebra 105SL
246 pages
To Next Page IconTo Next Page
To Next Page IconTo Next Page
To Previous Page IconTo Previous Page
To Previous Page IconTo Previous Page
Loading...
32056L Rev. 2 12/4/01 105SL Maintenance Manual Page 4-85
PREVENTIVE AND CORRECTIVE MAINTENANCE SECTION 4
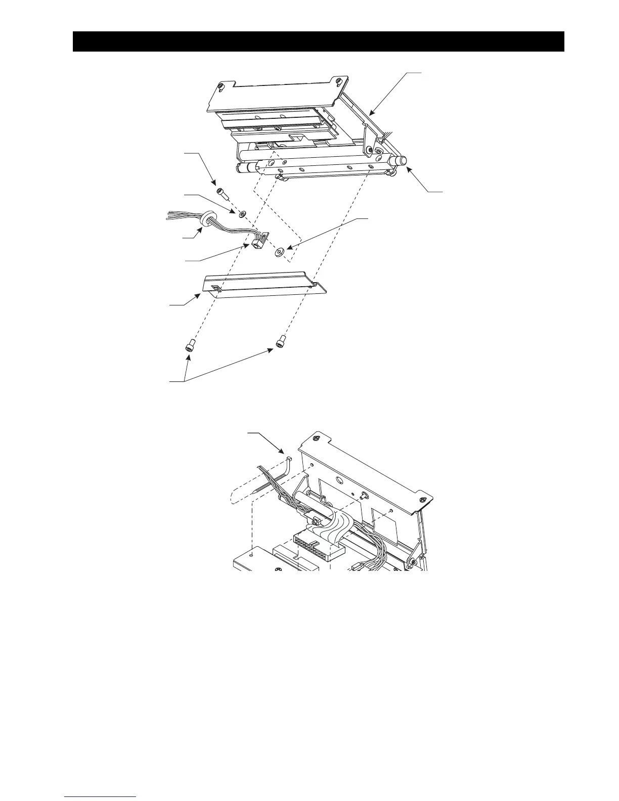
,QVWDOOWKH1HZ5LEERQ6HQVRU
1. From the media side, feed the power lead from the new ribbon sensor through the
grommet in the main frame.
2. Refer to Figure 4-64 and mount the ribbon sensor to the printhead pivot bar.
3. Orient the guard plate so the cutout aligns with the ribbon sensor. Install the plate with
two screws.
4. Move the printhead back into position so you can carefully connect the data and the
power cables.
Figure 4-64. Guard Plate and Sensor
Figure 4-65. Wire Tie Removal and Installation
Printhead Assembly
Pivot Bar
Screws
Guard Plate
Screw
Flat Washer
Washer
Ribbon Sensor
Split Grommet
(See Note)
Note:
Position Ribbon Sensor Tab So It Is Not
Flush With Top Edge of Pivot Bar. The Gap
Should be 0.010 Min./0.030 Max.
Below Top Edge.
Wire Tie

Other manuals for Zebra 105SL

Related product manuals