EasyManua.ls Logo

Zebra 105SL - Page 173

Zebra 105SL
246 pages
Print Icon
To Next Page IconTo Next Page
To Next Page IconTo Next Page
To Previous Page IconTo Previous Page
To Previous Page IconTo Previous Page
Loading...
32056L Rev. 2 12/4/01 105SL Maintenance Manual Page 4-87
PREVENTIVE AND CORRECTIVE MAINTENANCE SECTION 4
18. If you receive a Ribbon Error, check all the steps of the installation procedure. Make
sure that the sensor power connector is fully seated into the connector on the logic
board.
7DNH/DEHO6HQVRU5HSODFHPHQW
1. Refer to RRP No. 1 on page 4-10 and place the power switch in the Off (O) position
and disconnect the AC power cord. Disconnect the data cables.
2. Open the media cover.
3. Refer to RRP No. 2 on page 4-12 and remove the electronics cover.
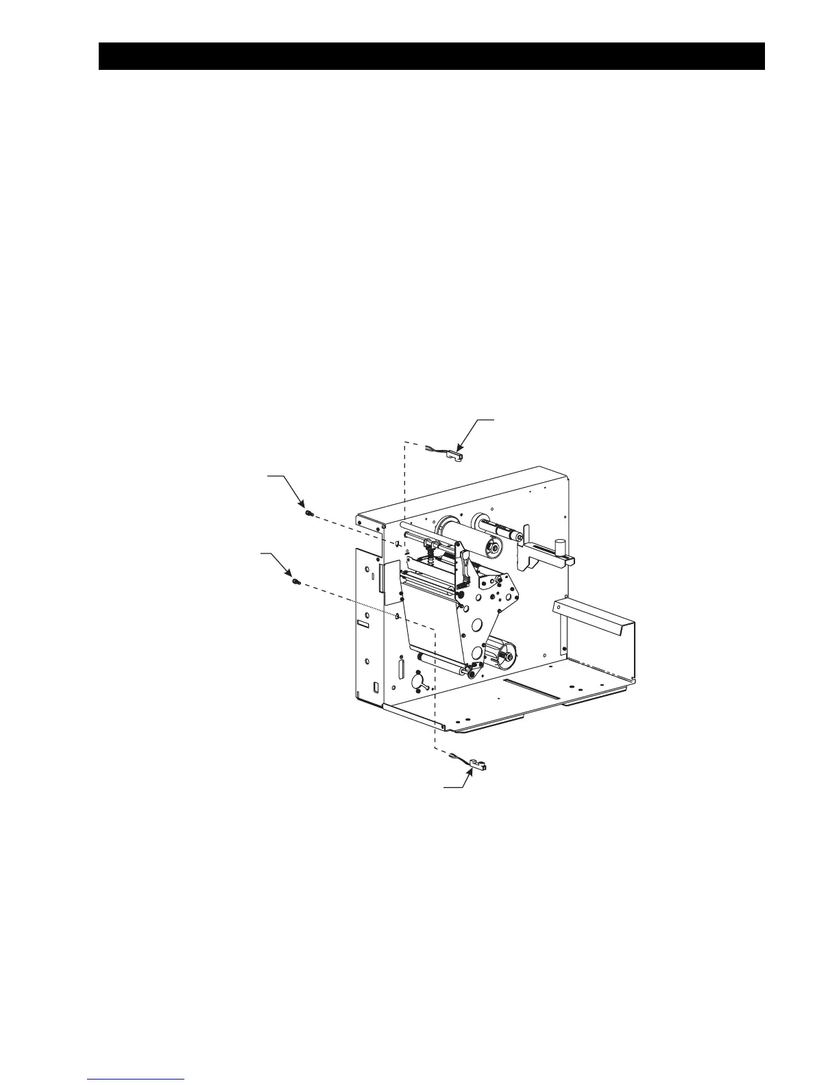
4. Refer to Figure 4-67 and remove the screws that secure the upper and lower take-label
sensors.
NOTE: The upper take-label sensor has green/yellow wires.
5. Insert the upper take-label sensor connector and cable through the upper hole in the
main frame.
6. Position the sensor with the window facing down. Secure the sensor to the main frame
with one screw.
NOTE: The lower take-label sensor has black/red wires.
7. Insert the lower take-label sensor connector and cable through the lower hole in the
main frame.
8. Position the sensor with the window facing up. Secure the sensor to the main frame
with one screw.
Figure 4-67. Take-Label Sensors
Screw
Lower Sensor
Screw
Upper Sensor

Other manuals for Zebra 105SL

Related product manuals