EasyManua.ls Logo

Zebra 105SL - Page 219

Zebra 105SL
246 pages
Print Icon
To Next Page IconTo Next Page
To Next Page IconTo Next Page
To Previous Page IconTo Previous Page
To Previous Page IconTo Previous Page
Loading...
32056L Rev. 2 12/4/01 105SL Maintenance Manual Page 6-5
OPTION KITS SECTION 6
25. Leave approximately a 0.020
in. (0.5 mm) gap between the C-ring and platen support
bracket. Tighten the two pulley set screws.
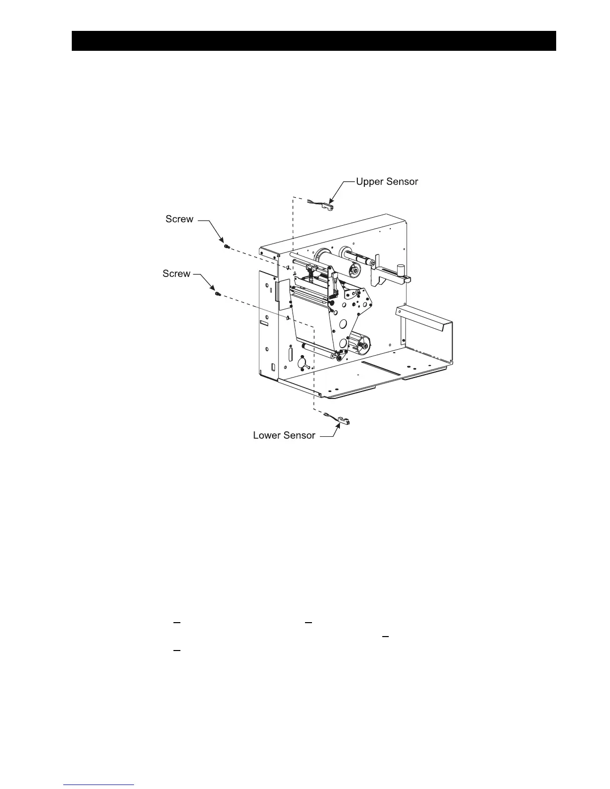
26. Remove the plastic plugs from the upper and lower take-label sensor mounting holes.
NOTE: The upper take-label sensor has green/yellow wires.
27. Refer to Figure 6-3. Insert the upper take label sensor connector and cable through the
upper hole in the main frame.
28. Position the sensor with the window facing down. Secure the sensor to the main frame
with one screw.
NOTE: The lower take-label sensor has black/red wires.
29. Insert the lower take label sensor connector and cable through the lower hole in the
main frame.
30. Position the sensor with the window facing up. Secure the sensor to the main frame
with one screw.
NOTE: Figure 6-4 illustrates 105SL printers with configuration numbers
10500-0XXX-XXXX and 10500-1XXX-XXXX. Figure 6-5 illustrates 105SL
printers with configuration numbers 10500-2XXX-XXXX and
10500-3XXX-XXXX.
31. Refer to Figure 6-4 or Figure 6-5. Route the sensor wires through the cable clamps and
bring them to the main logic board. Make sure that the wires do not come in contact
with any moving parts.
32. Connect the sensor connectors to the main logic board as shown.
Figure 6-3. Take-Label Sensors

Other manuals for Zebra 105SL

Related product manuals