EasyManua.ls Logo

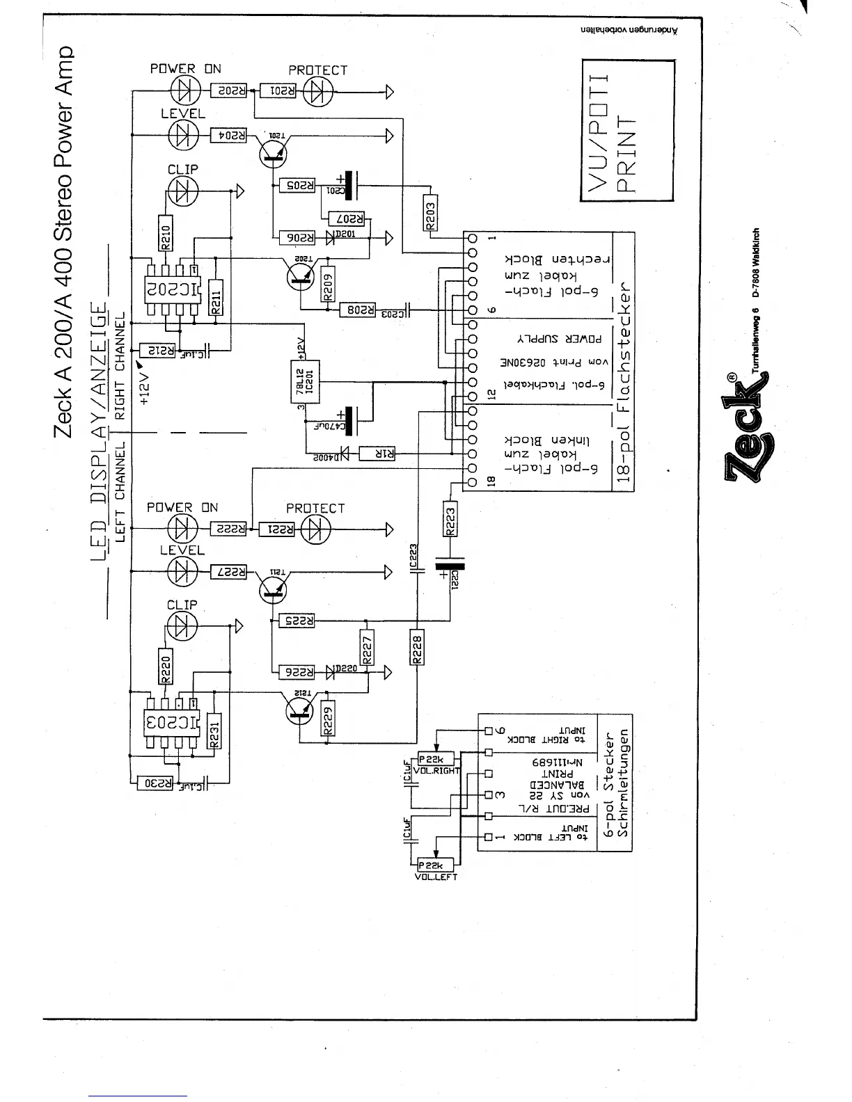
Zeck Audio A200 - Indicator and Display Systems; LED Indicators and VU Meter Circuit

Zeck Audio A200
6 pages
Print Icon
To Previous Page IconTo Previous Page
To Previous Page IconTo Previous Page
Loading...

Related product manuals