EasyManua.ls Logo

3M 9550 - Lamp Housing - - FNT Singlelamp

3M 9550
64 pages
Print Icon
To Next Page IconTo Next Page
To Next Page IconTo Next Page
To Previous Page IconTo Previous Page
To Previous Page IconTo Previous Page
Loading...
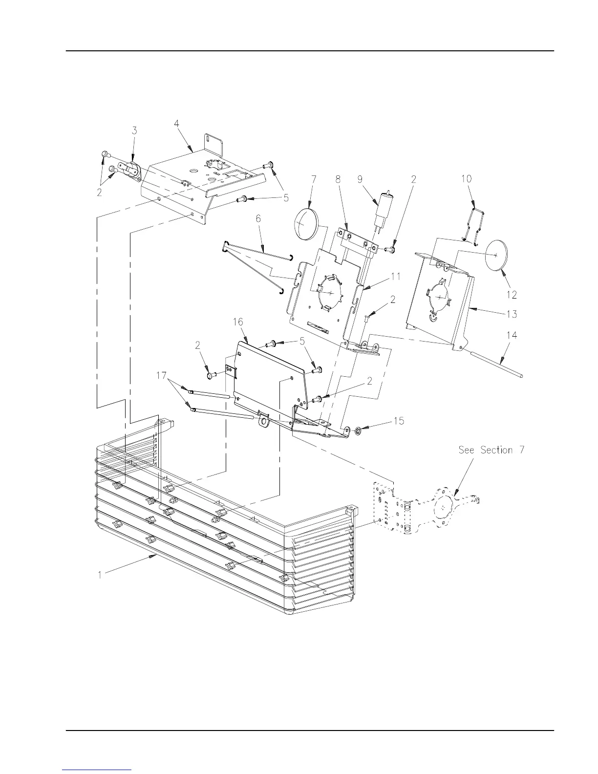
Illustrated Parts Breakdown3MtOverhead Projector 9000 Series
7--34
E 3M 2000
Section 11
LAMP HOUSING -- FNT SINGLE LAMP

Related product manuals