EasyManua.ls Logo

4G Systems XSJack T3e - Maße für die Wandmontage

Default Icon
72 pages
Print Icon
To Next Page IconTo Next Page
To Next Page IconTo Next Page
To Previous Page IconTo Previous Page
To Previous Page IconTo Previous Page
Loading...
33
Deutsch
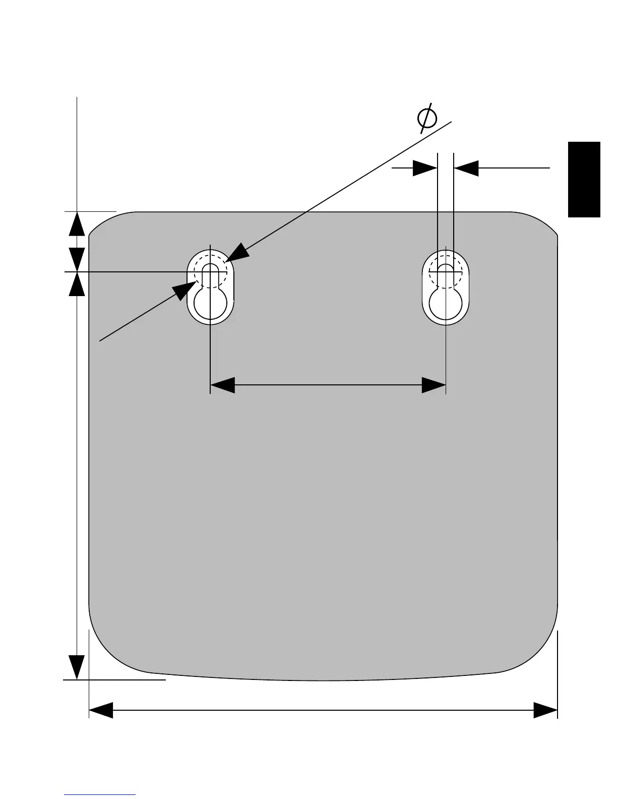
Maße für die Wandmontage
50.0 mm
87.0 mm
13.0 mm
3.5 mm
max. 7.0 mm
100.0 mm

Table of Contents

Related product manuals