EasyManua.ls Logo

A&D BM-5 - Page 94

A&D BM-5
116 pages
Print Icon
To Next Page IconTo Next Page
To Next Page IconTo Next Page
To Previous Page IconTo Previous Page
To Previous Page IconTo Previous Page
Loading...
92 BM series
16.3.4. Command Examples
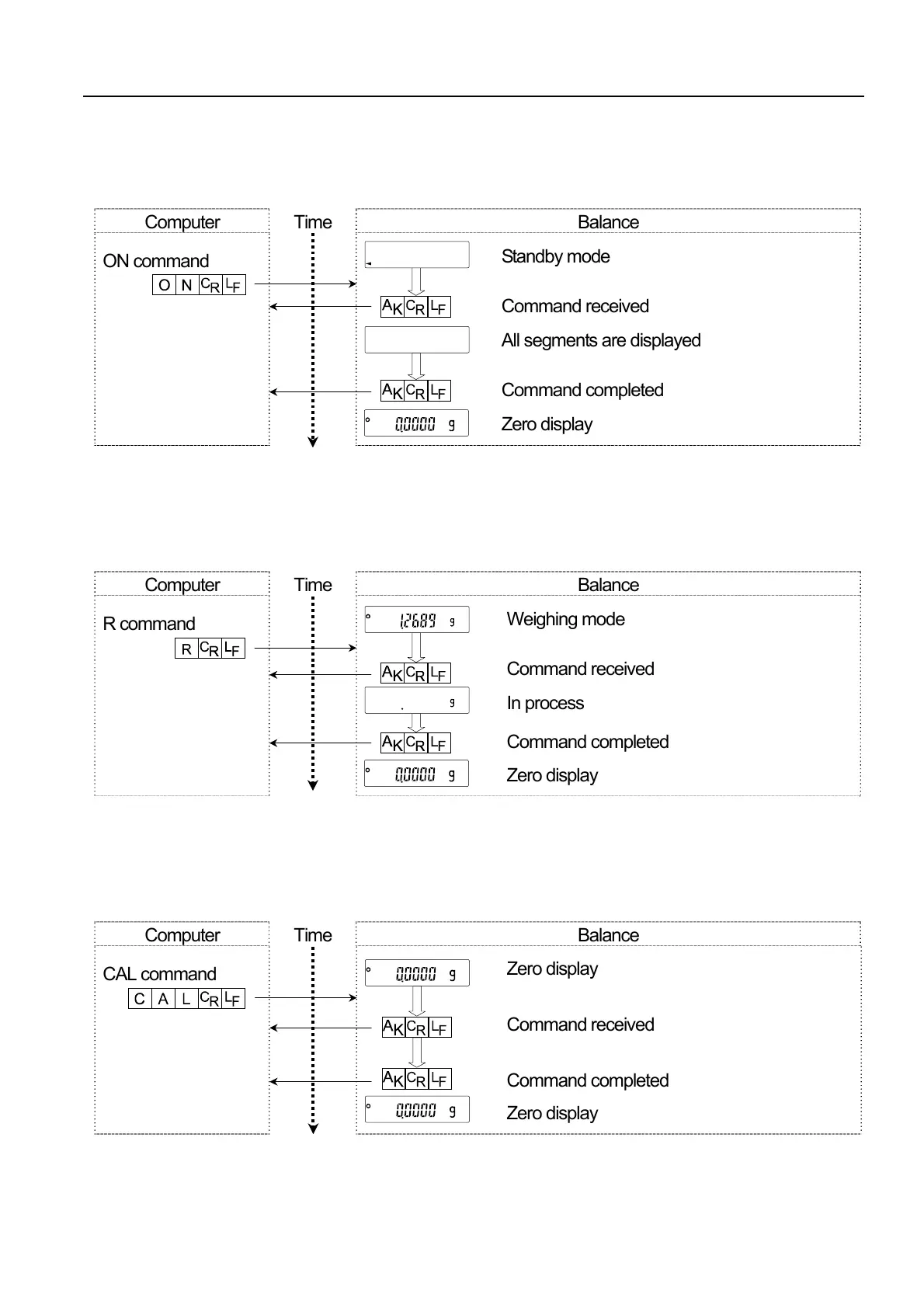
This example uses "erCd on" of "5if" so that the <AK> (06h) code is output.
ON command (turning the display on)
Computer Time Balance
ON command
Standby mode
Command received
All segments are displayed
Command completed
Zero display
R command (Re-zeroing the display)
Computer Time Balance
R command
Weighing mode
Command received
In process
Command completed
Zero display
CAL command (Calibration with internal mass)
Computer Time Balance
CAL command
Zero display
Command received
Command completed
Zero display
All segments

Table of Contents

Related product manuals