EasyManua.ls Logo

A&D FZ-300CT - Settings Related to RS-232 C

A&D FZ-300CT
80 pages
Print Icon
To Next Page IconTo Next Page
To Next Page IconTo Next Page
To Previous Page IconTo Previous Page
To Previous Page IconTo Previous Page
Loading...
61
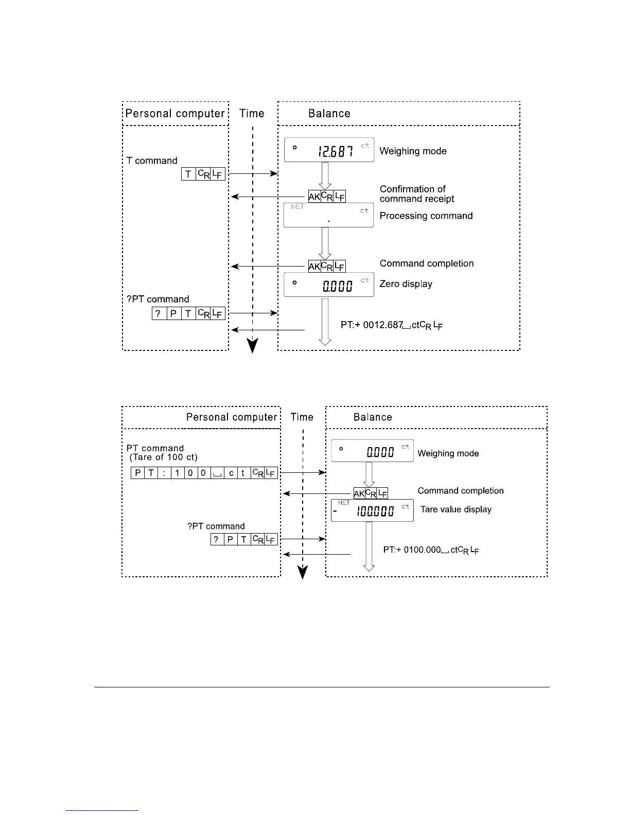
T command example
PT command example
When a communication error has occurred due to external noise, or a parity error has
occurred due to transmission error, the balance transmits an error code. In this case, send the
command again.
15-3 Settings Related to RS-232C
Concerning the RS-232C, the balance has two functions: “Data output ( dout )” and “Serial interface
( 5if )”. Set each function as necessary.

Table of Contents

Related product manuals