EasyManua.ls Logo

A&D GF-6002A - Data Memory for Calibration and Calibration Test

A&D GF-6002A
112 pages
Print Icon
To Next Page IconTo Next Page
To Next Page IconTo Next Page
To Previous Page IconTo Previous Page
To Previous Page IconTo Previous Page
Loading...
62
Transmitting all memory data at one time
Confirm that the "Serial interface (5if)" parameters are set properly.
Refer to "10. Function Table" and "Communication Manual " on the A&D website.
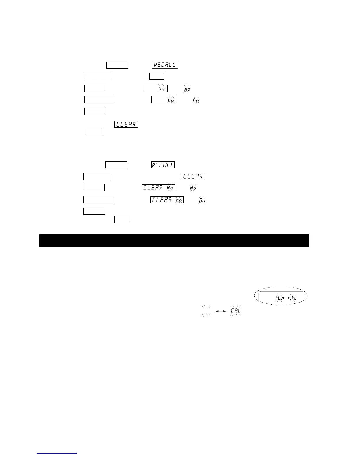
1. Press and hold the PRINT key until is displayed, then release the key.
2. Press the SAMPLE key to display out .
3. Press the PRINT key to display out with " " blinking.
4. Press the RE-ZERO key to display out with " " blinking.
5. Press the PRINT key to transmit all data using the RS-232C , USB.
6. The balance displays when all data is transmitted.
Press the CAL key to return to the weighing mode.
Deleting all memory data at one time
1. Press and hold the PRINT key until is displayed, then release the key.
2. Press the SAMPLE key several times to display .
3. Press the PRINT key to display with " " blinking.
4. Press the RE-ZERO key to display with blinking.
5. Press the PRINT key to delete all data
6. The balance displays end and returns to the weighing mode.
12-2 Data Memory For Calibration And Calibration Test
Characteristic
Calibration data (when and how it is performed) and calibration test data can be
stored in memory.
All the data in memory is available to be output at one time to a printer or
personal computer.
Up to 50 data sets of the latest calibration or calibration test can be stored.
When the memory capacity has been reached to 50, "fUl" " "
illuminates in order in the upper left of the display as shown below.
Storing the calibration and calibration test data
1. Set the "Data memory (data)" parameter to " data 2". Refer to "10 Function Table".
2. With the settings above, each time calibration or calibration test is performed, the data is stored
automatically.
Upper left of the display

Table of Contents

Other manuals for A&D GF-6002A

Related product manuals