EasyManua.ls Logo

A&D GX-6000 - Page 75

A&D GX-6000
92 pages
Print Icon
To Next Page IconTo Next Page
To Next Page IconTo Next Page
To Previous Page IconTo Previous Page
To Previous Page IconTo Previous Page
Loading...
73
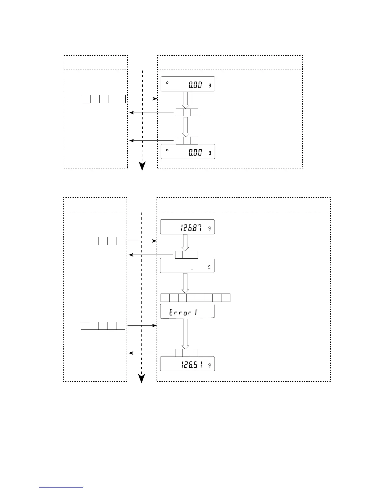
CAL command
Error code
Command received
Command completed
Zero display
Zero display
Personal computer Time Balance
CAL command
AC L
C
R
L
F
AK
C
R
L
F
AK
C
R
L
F
Weighing mode (unstable)
Weighing mode
Personal computer Time Balance
R command
R
C
R
L
F
AK
C
R
L
F
AK
C
R
L
F
C
R
1
L
F
1E,CE
When the CAL command is
received, the balance returns to
the weighing mode
Error code
CAL command
AC L
C
R
L
F
In process
Command received
Command completed
When the R command can not be
achieved due to unstable weighing:

Table of Contents

Other manuals for A&D GX-6000

Related product manuals