EasyManua.ls Logo

ABB COMMANDER 1911 - Operating; Operating Page Displays

ABB COMMANDER 1911
44 pages
Print Icon
To Next Page IconTo Next Page
To Next Page IconTo Next Page
To Previous Page IconTo Previous Page
To Previous Page IconTo Previous Page
Loading...
13
100.3
dEG F
Motorized
Valve
Controllers
Heat/Cool
Controllers
Heat/Cool
Motorized Valve (position-proportioning and boundless)
100.3
110.5
100.3
OP 50.0
100.3
r50.0
100.3
W 50.0
100.3
OP 50.0
100.3
Oh 0.0
100.3
Oc 0.0
W
O
C
open
close
stopped
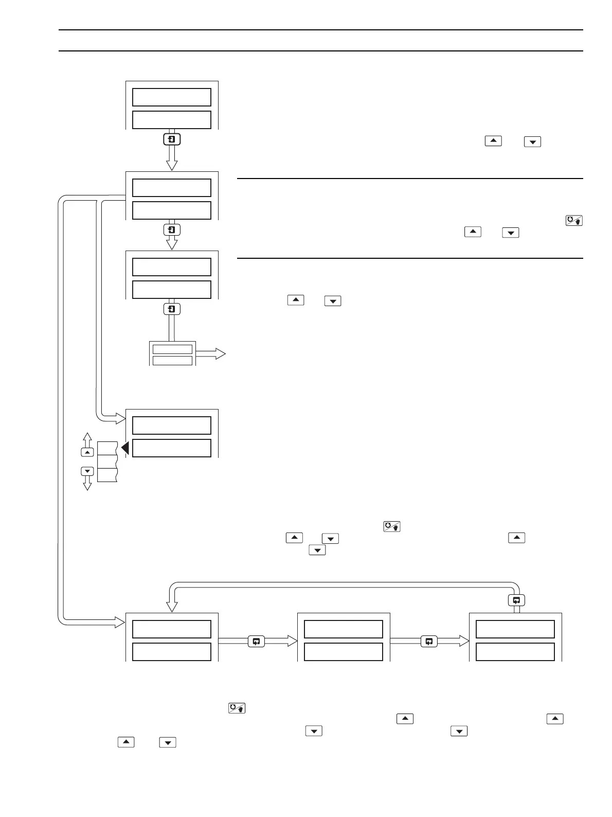
5.2 Operating Page Displays
Process Variable
Control Set Point
The set point in use is displayed (Local, Remote, Dual or Cascade). If the Local or
Dual set point is displayed it can be adjusted using the and switches,
providing adjustment is enabled in the
Set Up Operating Page, CONTROL
CONFIGURATION LEVEL – refer to the Programming Guide.
Process Variable
Control Output Value (%)
To adjust the output value manually: select Manual control mode using the
switch ('MAN' l.e.d. is illuminated) and then use the and switches to set
the required value (between 0 and 100%).
Process Variable
Manual Reset
Use the
and switches to set a value which eliminates any offset from the
set point (between 0 and 100%). Manual reset only appears if enabled in the
Set
Up Operating Page, CONTROL CONFIGURATION LEVEL and the Integral Action
Time in the OPERATOR LEVEL is 'OFF'.
Continued on next page.
Process Variable
Valve Status and Valve Position (%)
W valve stopped
O valve opening
C valve closing
The valve position is displayed as a percentage of its full travel position (not
displayed on boundless controllers). To adjust the valve position manually: select
Manual control mode using the
switch ('MAN' l.e.d. is illuminated) and then
use the
and switches to set valve position required ( switch opens
the valve and
switch closes the valve). With neither switch pressed the valve
is stopped.
P.I.D. Output (%)
To adjust the output value
manually: select Manual
control mode using the
switch ('MAN' l.e.d. is
illuminated) and then use the
and switches to set
the value required (between 0
and 100%).
Heat Output (%)
This frame is not displayed if
the P.I.D. output is below the
Crossover Value. The output
can be adjusted using the
and switches when in the
Manual control mode.
Cool Output (%)
This frame is not displayed if the
P.I.D. output is above the
Crossover Value. The output can
be adjusted using the
and
switches when in the
Manual control mode.
5 CONTROL OPERATION…

Related product manuals