EasyManua.ls Logo

ABB COMMANDER 1911 - Page 16

ABB COMMANDER 1911
44 pages
Print Icon
To Next Page IconTo Next Page
To Next Page IconTo Next Page
To Previous Page IconTo Previous Page
To Previous Page IconTo Previous Page
Loading...
14
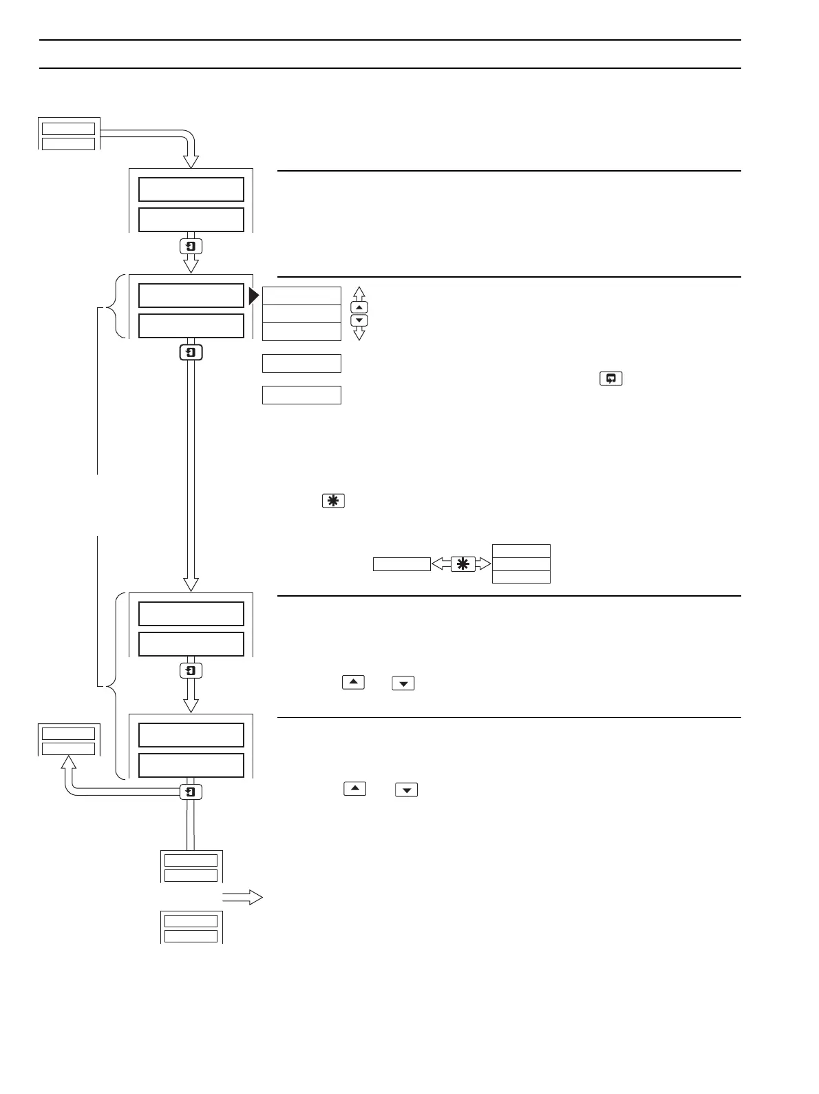
…5.2 Operating Page Displays
Faceplate 2 only
LOCAL
110.5
rAtIO
1.000
bIAS
0.0
dUAL
CASCdE
or
or
100.3
dEG F
100.3
r50.0
PrG 1
rAMP
100.3
110.3
Profile Option
tIME
12:00
Timer Option
or
No additional options
LOCAL dUAL
CASCdE
rEMOtE
Only displayed if enabled in
the
Set Up Operating Page,
CONTROL CONFIGURATION
LEVEL
rEMOtE
bALNCE
LOCAL
Process Variable
Temperature Units
The units are set in the
BASIC CONFIGURATION LEVELDisplay is blank if 'NONE' is
selected.
Set Point Type Selection
The
Balance displays show the difference between the Local
and Second set point values (remote, dual or cascade) when
switching from local to second set point, i.e.
Balance = Second set point – Local set point.
If the difference is too great, press the
switch to return to the
Control Set Point frame and adjust the Local set point to obtain
an acceptable difference.
If remote set point tracking is enabled (
Set Points Page,
CONTROL CONFIGURATION LEVEL), the local set point tracks
the remote set point when the remote set point is selected.
The
switch (if programmed in the ADVANCED CONFIGURATION LEVEL) can
also be used for
Local/Second set point selection, but transfer takes place without
display of the Balance value , i.e.
Remote (or Cascade) Set Point Ratio
The remote (or cascade) set point input (in engineering units) is multiplied by the
ratio to obtain the control set point value, i.e.
Remote (or cascade) Set Point Value = Input x Ratio + Bias
Use the
and switches to set the ratio required, between 0.010 and 9.999
in 0.001 increments
Remote (or Cascade) Set Point Bias
The bias value is added to the remote (cascade) set point value (see previous
frame)
Use the and switches to set the bias required.
The bias can be set to either a positive or negative value (in engineering units).
Continued on next page.
…5 CONTROL OPERATION

Related product manuals