EasyManua.ls Logo

ABB CS500 - Page 25

ABB CS500
27 pages
Print Icon
To Next Page IconTo Next Page
To Next Page IconTo Next Page
To Previous Page IconTo Previous Page
To Previous Page IconTo Previous Page
Loading...
1SBD370000F1000 Page 25/27
ABB Entrelec
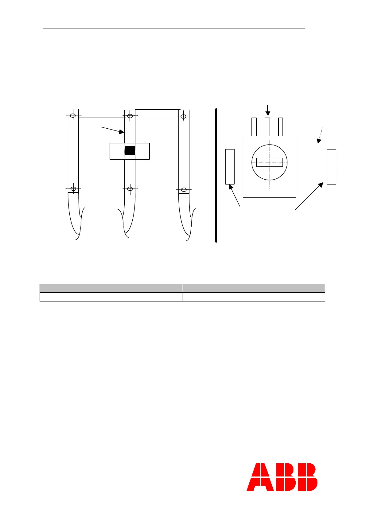
5 Configuration rectangular
primary bar coupling
5 Configuration couplage barre
primaire rectangulaire
Parameters / Paramètres
Sensor Rectangular bar
CS500 and CS1000 40 x 12mm
In such a configuration, we determinate the
influence of the position of the round bar
inside the primary hole on the sensor
accuracy.
Dans cette configuration, on détermine
l’influence de la position de la barre
rectangulaire dans le trou primaire sur la
précision du capteur.
Rectangular
bar
Asymetrical generator
Générateur asymétrique
Symetrical AC generator
Studs on the top
Studs on the side

Related product manuals