EasyManua.ls Logo

ABB NBRA-656 - Power Connections NBRA-654;664

ABB NBRA-656
54 pages
Print Icon
To Next Page IconTo Next Page
To Next Page IconTo Next Page
To Previous Page IconTo Previous Page
To Previous Page IconTo Previous Page
Loading...
Chapter 4 Electrical Installation
Installation and Start-up Guide for NBRA-6xx 4-7
Power Connections
NBRA-654/664
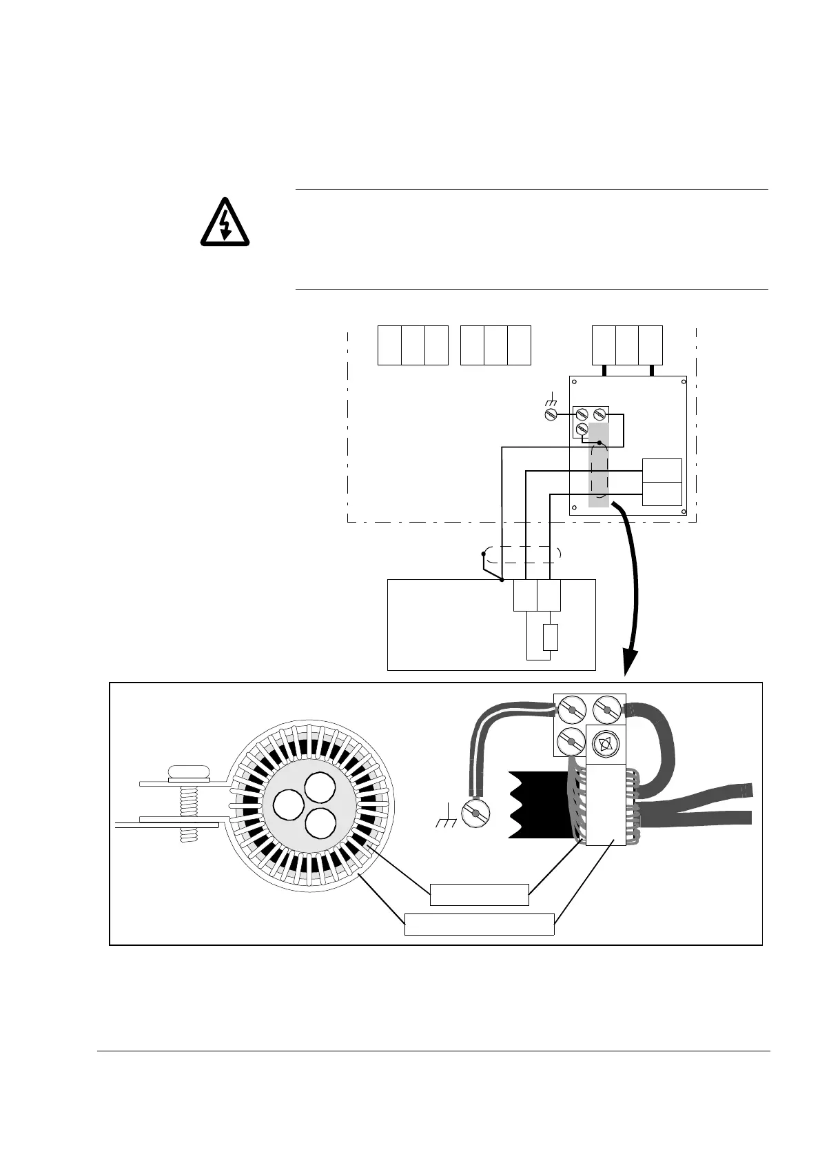
WARNING! Before installation, switch off the mains supply to the
ACS 600. Wait five minutes to ensure that the intermediate circuit is
discharged. Switch off all dangerous voltages connected to the inputs
or the outputs of the ACS 600.
Figure 4-4 Top: NBRA-654/664 power connections.
Bottom: Earthing connections.
ACS 600
U2 V2 W2U1 V1 W1
123
UDC+
UDC
NBRA-6x4
R
R+
R
Braking Resistor
RR+
PE
Copper Sleeve
Screen Earthing Clamp
2
3
3
2
1
1
Screen Earthing Clamp

Related product manuals