EasyManua.ls Logo

ABB RHDE250 - Page 32

ABB RHDE250
48 pages
Print Icon
To Next Page IconTo Next Page
To Next Page IconTo Next Page
To Previous Page IconTo Previous Page
To Previous Page IconTo Previous Page
Loading...
Electrical connection
32 RHDE250 ... 4000 (Contrac) 42/68-167-EN
5.2.2.2 PROFIBUS DP
M00232
10 13
11 12
B1 B2A1 A2
Contrac
electronic unit
bus
connection
bus termination
red
red
green
green
U1 V1
W1
12
J
3~ M
10 11
70 71
17
19 20
21 22
23
24
17 19 20 21 22
23
24
1
2
28
29
30
31
U
VW
Br
Br PE
LN
Bus out
Bus in
S1
SD241B
18
non
Ex
Ex
heater approx. 6 W (option)
*see notice on this side
motor
conn. chamber
sensor
conn. chamber
motor
brake
Contrac
Ex-actuator
sensor
mains
115 V AC /
230 V AC
ext.fuse
mains
110 V AC ... 230 V AC
ext.fuse
Screen at both ends up to the
sub distribution board. One-sided
screening in further wiring possible.
DO1
endp. 0%
DO2
endp. 100%
1)
1)
1)
1)
1)
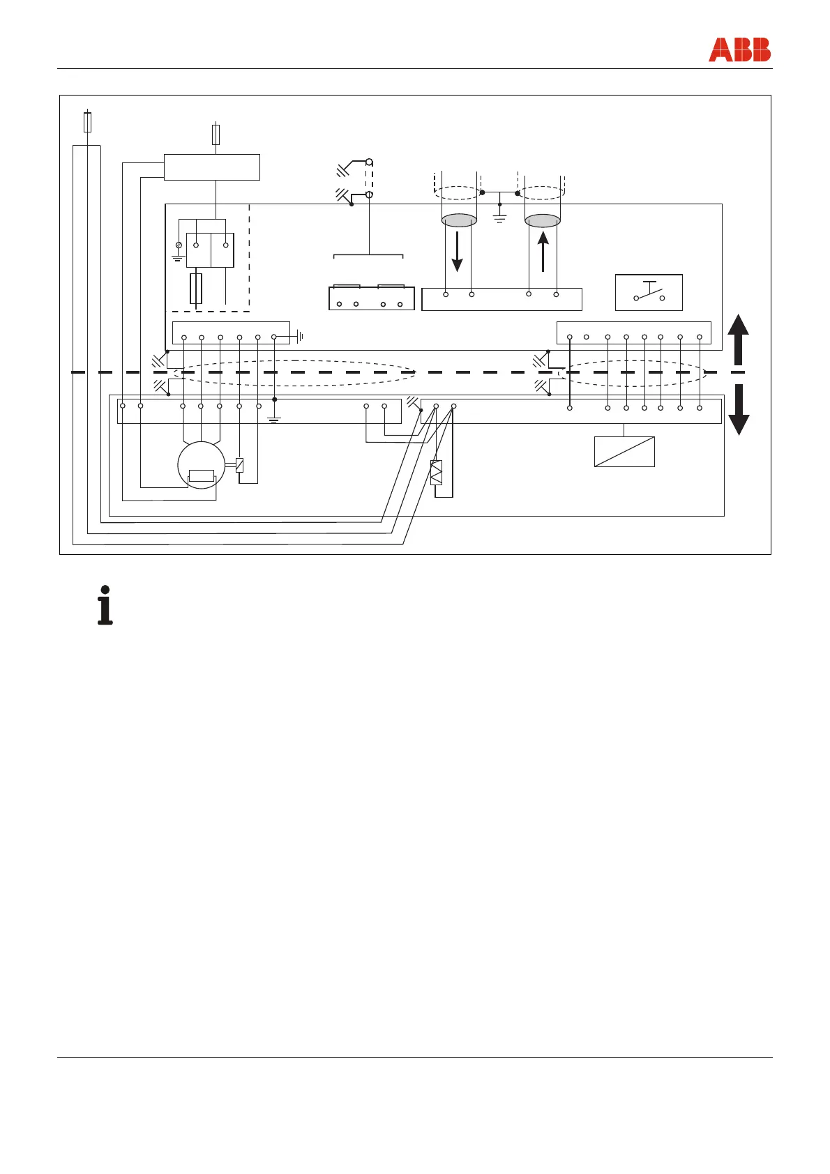
Fig. 18: Electrical connection: PROFIBUS DP option
Important
* For separate heat supply, protect the heater with 2 … max. 6 A medium time-lag fuses (e.g., Neozed D01CE14).
Pos: 13.18 /==== === Seitenumbruch ======= = @ 0\mod_1126532365768_3101.d oc @ 3830

Table of Contents

Other manuals for ABB RHDE250

Related product manuals