EasyManua.ls Logo

Abell A-82 - Page 7

Abell A-82
41 pages
Print Icon
To Next Page IconTo Next Page
To Next Page IconTo Next Page
To Previous Page IconTo Previous Page
To Previous Page IconTo Previous Page
Loading...
ABELL A-82 UHF Service Manual
- 6 -
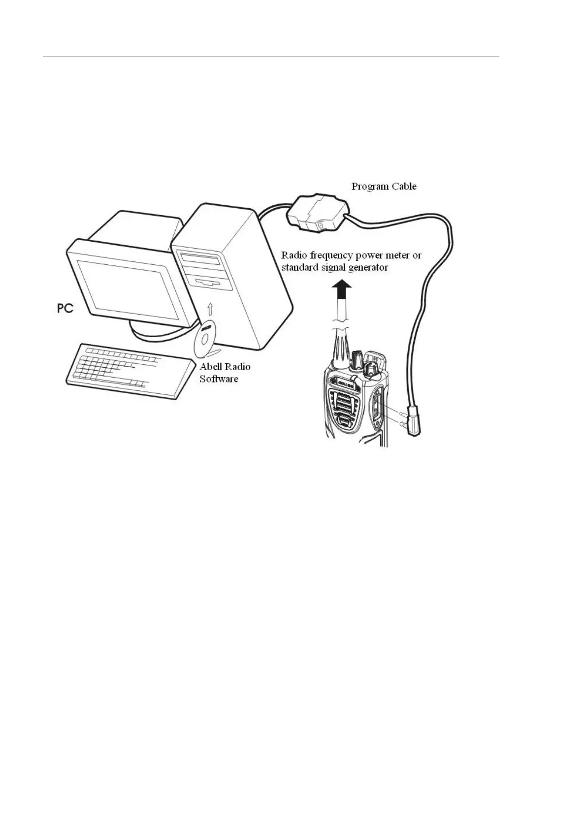
PC MODE
Preface
The transceiver is programmed by using a personal computer, programming interface (provided by
ABELL) and programming software. Chart 2 shows how the devices work.
Chart 2
Connection procedure
1Connect the A-82 to the personal computer with the interface cable.
2Operate A-82 prgramming software.
3Set the communication interface
4Operate the programming to the radio
5When data is transmitting from the transceiver the red LED lights.
When data is receiving by the transceiver the green LED lights.
Notes:
·The data stored in the personal computer must match the Model Name when it is written into the
EEPROM. Run the software and connect the transceiver with the personal computer, and then turn
ON.
·DO NOT press the [PTT] key during data transmission or reception.