EasyManua.ls Logo

Abus TVHD80100 - Overzicht

Abus TVHD80100
Print Icon
To Next Page IconTo Next Page
To Next Page IconTo Next Page
To Previous Page IconTo Previous Page
To Previous Page IconTo Previous Page
Loading...
Overzicht
119
Overzicht
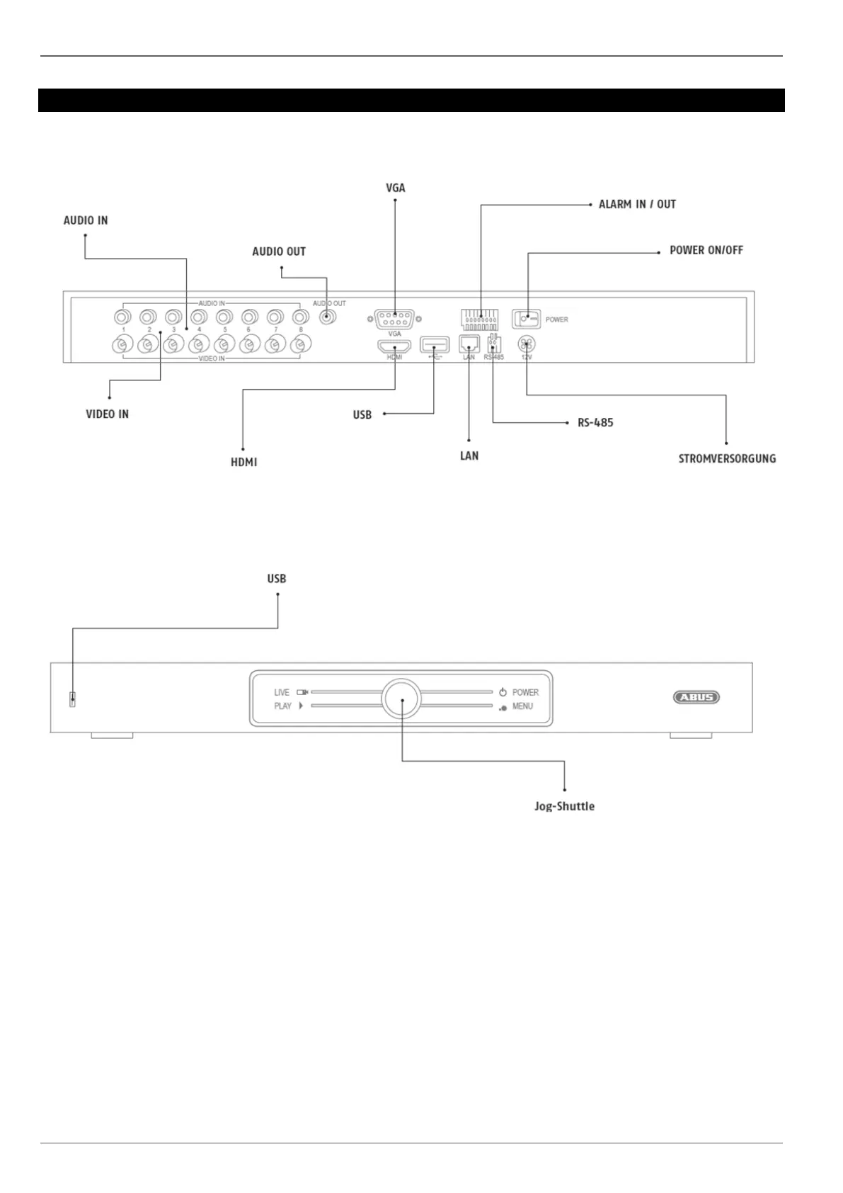
Achterkant
Voorzijde

Table of Contents

Related product manuals