EasyManua.ls Logo

Abus TVHD80100 - Page 353

Abus TVHD80100
Print Icon
To Next Page IconTo Next Page
To Next Page IconTo Next Page
To Previous Page IconTo Previous Page
To Previous Page IconTo Previous Page
Loading...
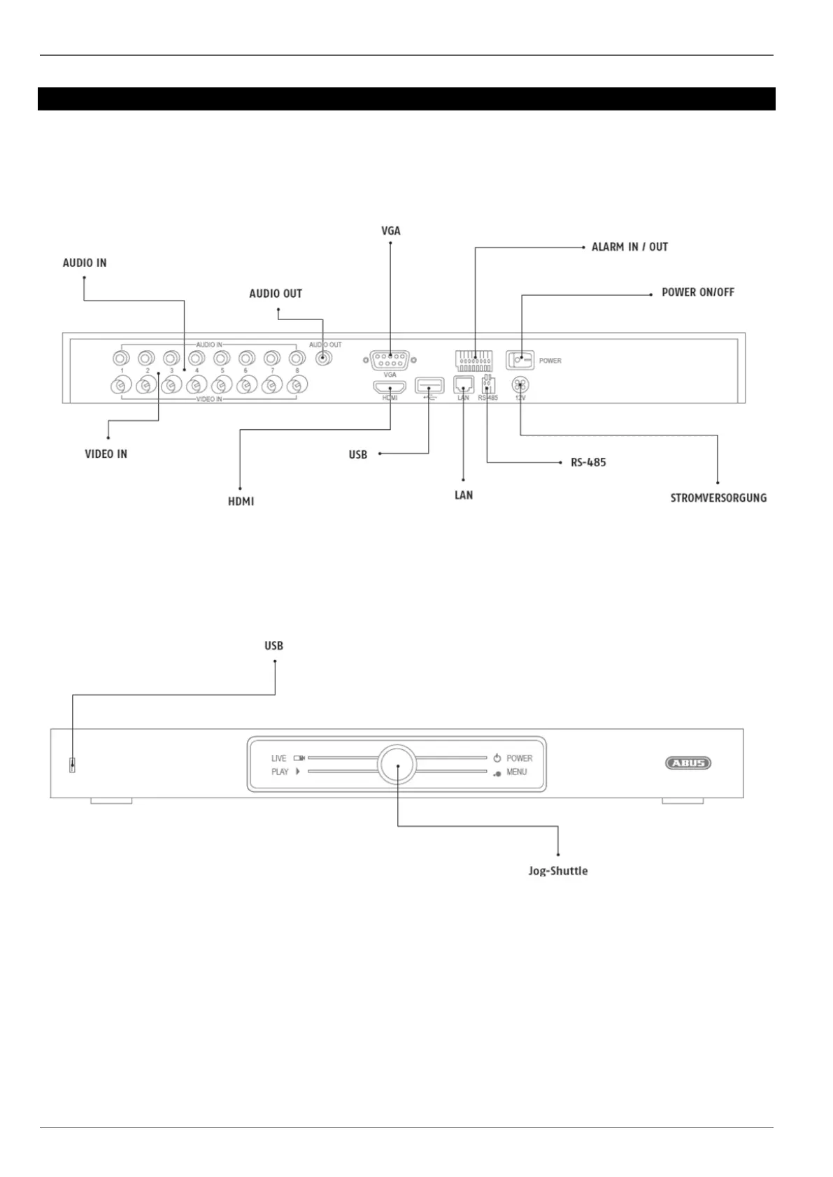
Обзор устройства
353
Обзор устройства
Обратная сторона
Вид спереди

Table of Contents

Related product manuals