EasyManua.ls Logo

Acer AL1717 - Monitor Block Diagram

Acer AL1717
73 pages
To Next Page IconTo Next Page
To Next Page IconTo Next Page
To Previous Page IconTo Previous Page
To Previous Page IconTo Previous Page
Loading...
- 20 -
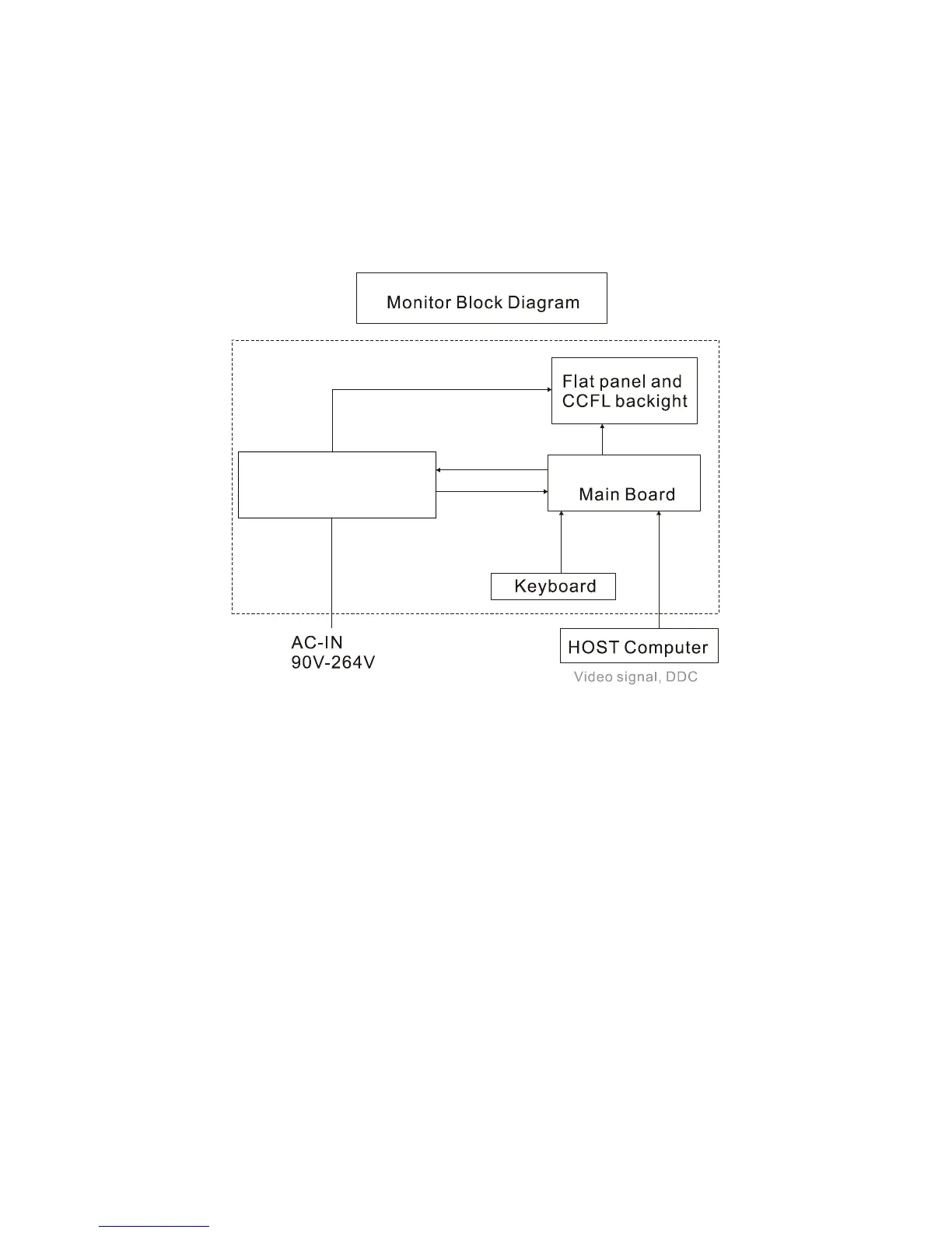
Monitor Block Diagram
The LCD monitor will contain an main board, an inverter/ power board, key board and internal adapter which house the
flat panel control logic, brightness control logic and DDC.
The inverter board will drive the backlight of panel and the DC-DC conversion.
Power board
(include: AC/DC,inverter)

Other manuals for Acer AL1717

Related product manuals