EasyManua.ls Logo

ACP RMS10TSA - Wiring Schematic and Diagram

ACP RMS10TSA
8 pages
Print Icon
To Next Page IconTo Next Page
To Next Page IconTo Next Page
To Previous Page IconTo Previous Page
To Previous Page IconTo Previous Page
Loading...
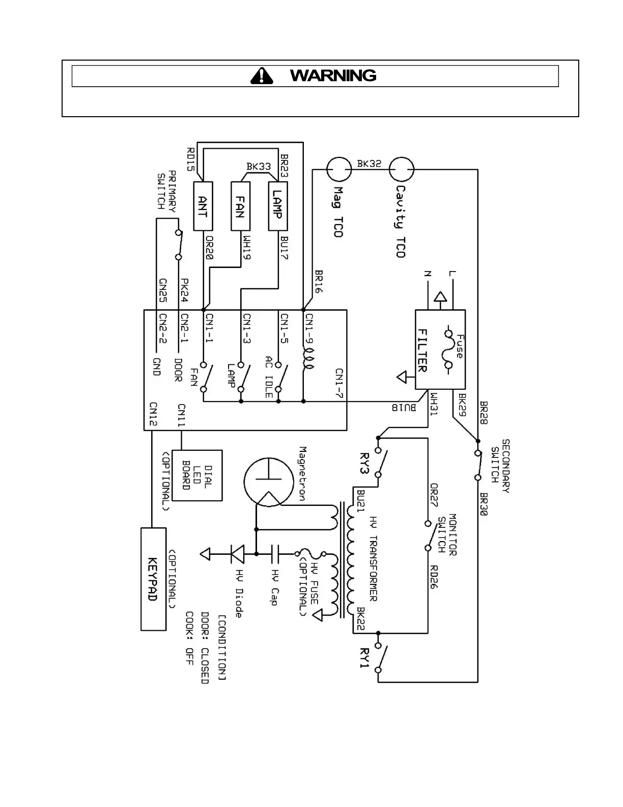
Wiring Schematic & Diagram
May 2019
©2019 ACP, Inc. 16500067
Rev 2
To avoid risk of electrical shock, personal injury or death, disconnect power to oven and discharge capacitor
before servicing, unless testing requires power.

Related product manuals