EasyManua.ls Logo

ACP RMS510TS2 - Wiring and Schematic Diagrams; Microwave Oven Wiring Diagram

ACP RMS510TS2
8 pages
Print Icon
To Next Page IconTo Next Page
To Next Page IconTo Next Page
To Previous Page IconTo Previous Page
To Previous Page IconTo Previous Page
Loading...
July 2019
©2019 ACP, Inc.
5
16500066
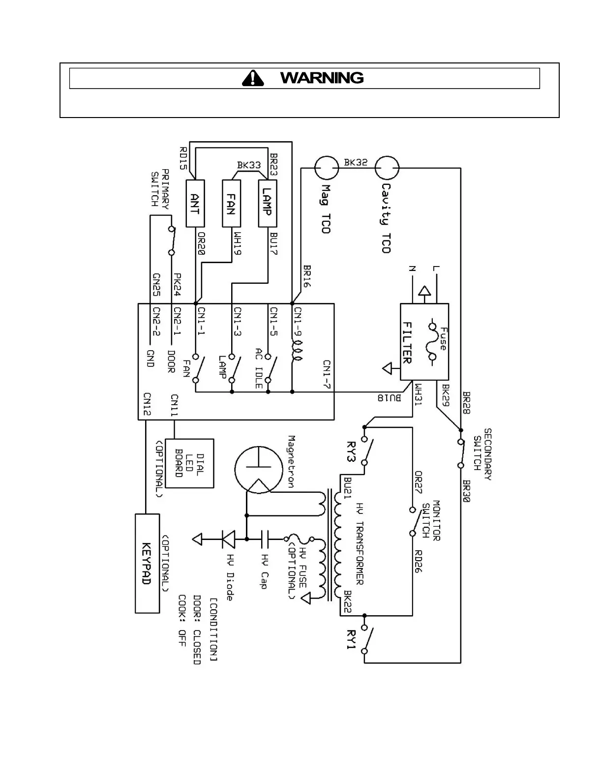
Wiring and Schematic Diagrams
To avoid risk of electrical shock, personal injury or death, disconnect power to oven and discharge capacitor
before servicing, unless testing requires power.

Related product manuals