EasyManua.ls Logo

ActronAir ELY700T - Page 34

ActronAir ELY700T
92 pages
Print Icon
To Next Page IconTo Next Page
To Next Page IconTo Next Page
To Previous Page IconTo Previous Page
To Previous Page IconTo Previous Page
Loading...
34
Installation and Commissioning Guide 500-700 Tri-Capacity Split Ducted
Doc. No.0525-098 Ver. 2 210330
Installation and Commissioning Guide
Split Tri-Capacity
Installing interconnecting pipe work to indoor, nitrogen bleed procedure (First fit or rough in stage only)
1. Run interconnecting pipe work from the condenser location to evaporator.
2. Starting with circuit 1 (small compressor), safely release pressure in evaporator and remove caps.
3. Fit copper tube into tail, set nitro bottle and regulator up at condenser end of pipe work.
4. Fit nitrogen line into suction line of circuit 1 with rubber bung to seal the connection. The seal will prevent air being
sucked into pipe work
5. Leave liquid line open, set nitro regulator for nitrogen to flow through pipe work at 2 l/s flow rate @20kPa.
6. Braze required joints as quick as possible.
7. Repeat the above process for circuit 2 (large compressor) piping.
See Diagram on Previous Page.
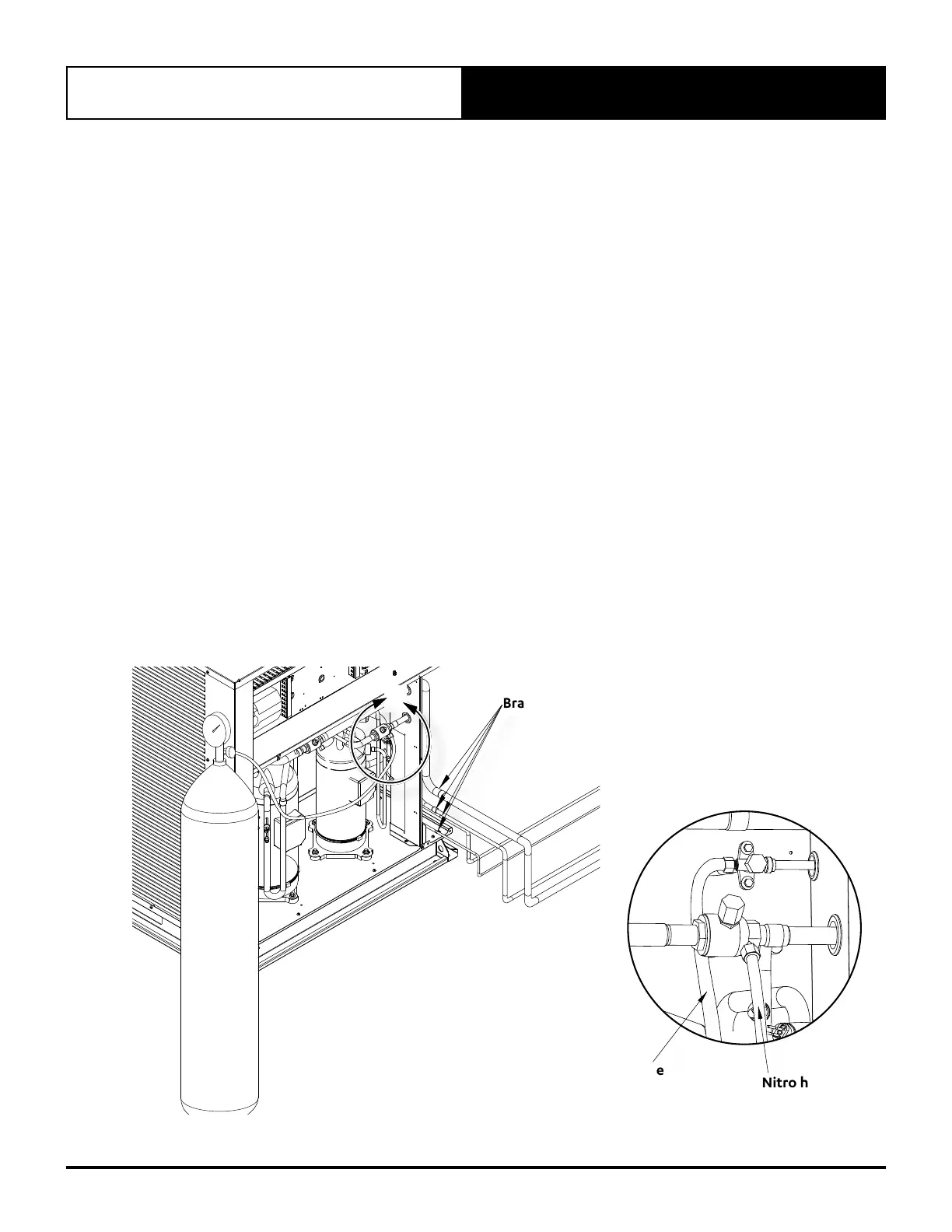
Installing interconnecting pipe work to outdoor, nitrogen bleed procedure (First fit or rough in stage only)
1. Starting with circuit 1 system, remove piping caps from the condenser and fit pipe work into tails.
2. Fit nitro hose onto suction ball valve and fit open hose onto liquid line post valve.
3. Set nitrogen regulator to 2 l/s flow rate through pipe work and evaporator.
4. Braze remaining joints as quick as possible.
5. Allow the brazed joints to cool and conduct leak test in the connections.
6. Pressurize the system to 2500kPa in stages. A recommended pressure test is to be performed for no less than 1
hour at 2500kPa.
7. Repeat above process for circuit 2 piping.
See Diagram Below:
N
I
T
R
O
G
E
N
Braze Joints
A
Open hose
Nitro hose
DETAIL A

Table of Contents

Related product manuals