EasyManua.ls Logo

ADC AD-464 - Page 84

ADC AD-464
96 pages
Print Icon
To Next Page IconTo Next Page
To Next Page IconTo Next Page
To Previous Page IconTo Previous Page
To Previous Page IconTo Previous Page
Loading...
80
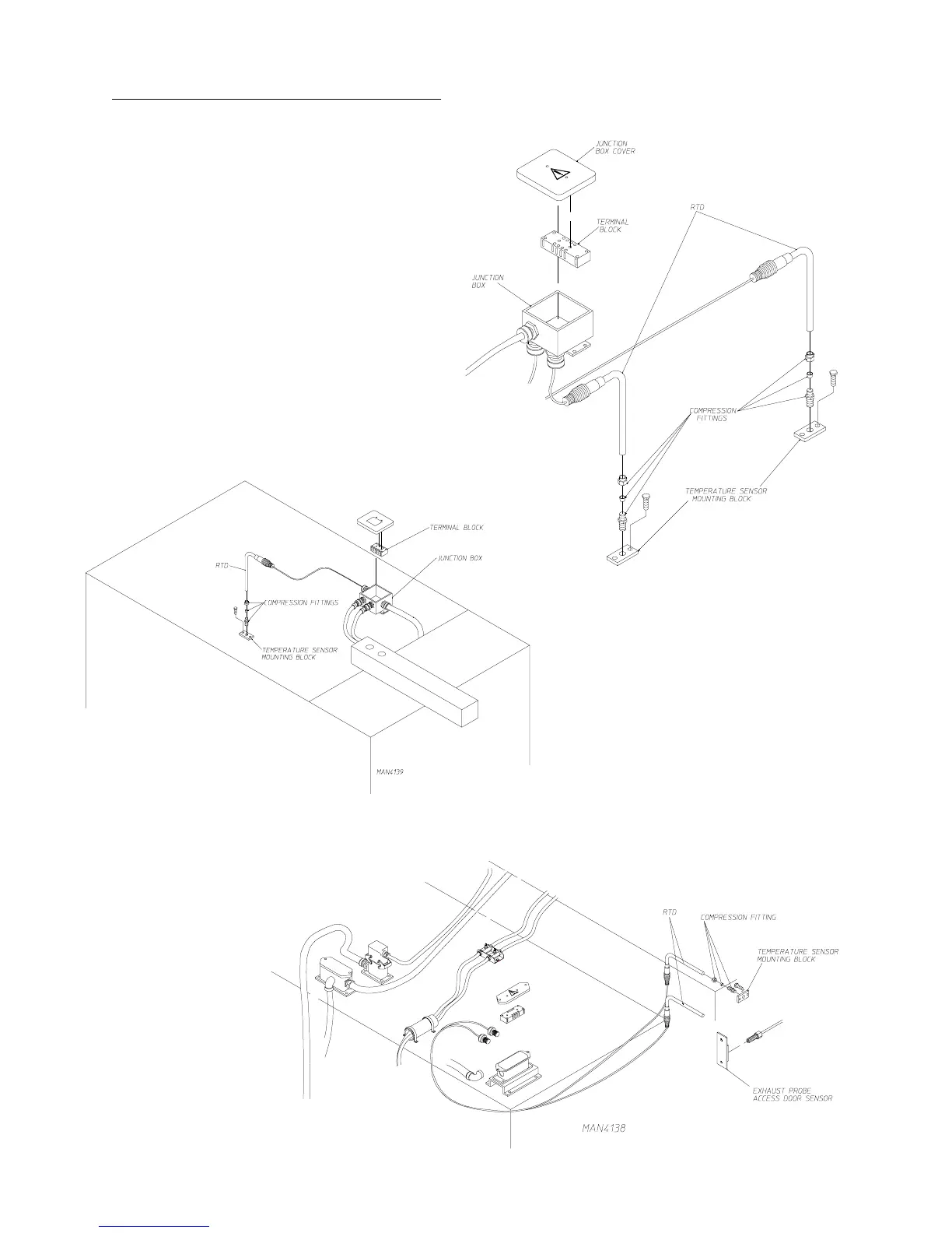
2. RTD (Resistive Temperature Device) Locations
EXHAUST TEMPERATURE/EXHAUST HI-LIMIT
INTAKE HI-LIMIT/SPRINKLER
MAN4146
OVER BURNER HI-LIMIT

Related product manuals